Sostituzione pulsante luce scale
Moderatori:
sebago,
MASSIMO-G,
lillo,
Mike
3
voti
AH BEH! sui tortellini sono un asso mica come con cavi e cavetti! Pasta rigorosamente all'uovo, ripieno con stracotto di manzo, prosciutto crudo di Parma e Parmigiano stagionato minimo 36 mesi...il tutto ripiegato a mano e fatti cuocere in un buon brodo in terza (con carne di manzo, gallina ripiena e maiale) meglio ancora se col cappone!
-

rosannamaffini
65 2 - Messaggi: 33
- Iscritto il: 4 gen 2014, 18:36
0
voti
Guarda Attilio ne ho fatti 800 dopo Natale e le boccacce che girano a casa mia stanno calando alla velocità della luce! Comunque io non nego un piatto di tortellini a nessuno, solo che la strada fino a Bolzano potrebbe essere lunga! (ps. mio marito è altoatesino, io sono emiliana se non si era capito)
-

rosannamaffini
65 2 - Messaggi: 33
- Iscritto il: 4 gen 2014, 18:36
1
voti
rosannamaffini ha scritto:Ah BEH! sui tortellini sono un asso mica come con cavi e cavetti! Pasta rigorosamente all'uovo, ripieno con stracotto di manzo, prosciutto crudo di Parma e Parmigiano stagionato minimo 36 mesi...il tutto ripiegato a mano e fatti cuocere in un buon brodo in terza (con carne di manzo, gallina ripiena e maiale) meglio ancora se col cappone!
Che spettacolo!
Sono in via di estinzione le cuoche
Ormai ci van giù pesante di microonde....
P.S. ho ancora la mamma vecchia scuola e il fatto di sapere che un giorno dovrò abbandonare la sua cucina mi fa star male
...e come diceva sempre mio nonno: "Nessuno nasce imparato"
1
voti
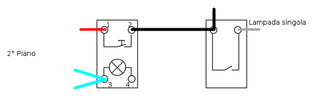
rosannamaffini ha scritto:Relè FINDER 26.01 :strano ma vero, cavallotto nero tra contatti 2-A2, filo nero contatto A2, contatto A1 filo rosso,contatto 1 bianco.
è possibile che i pulsanti siano stati montati sul neutro anzichè sulla fase?
Possibile avendo il cavallotto e si spiegherebbe perché con la fase non si eccita niente.
Potresti provare a mettere il neutro al posto della fase...da quello che hai detto dovrebbe andar tutto al massimo non si eccita il relè.
Ovviamente se stiamo parlando di questo e ovviamente solo sul pulsante
...e come diceva sempre mio nonno: "Nessuno nasce imparato"
1
voti
tortellini a parte, che a leggerne la realizzazione si apprezza già la loro bontà, rimanendo sul problema pulsante pianerottolo, direi che la scelta di interpellare l'elettricista non è male ...
... però volendo evitare di rifare l'intero impianto e trovare una soluzione rapida, si potrebbe pensare di "battere" i conduttori dei pulsanti quindi quelli collegati ai morsetti 1-3 fino a trovare la relativa corrispondenza, verificando così se i conduttori corrispondono e sono presenti ovvero se non ci sono interruzzioni ... non mi viene in mente altra soluzione, ovviamente questa verifica va fatta accertandosi di aver tolto tensione a tutto l'impianto aprendo i relativi interruttori generali e misurand l'assenza di tensione fra i conduttori interessati.
0
voti
allora per fare un ultimissssssimo tentativo dovrei tenere per buono il rosso (contatto 1) e mettere al contatto 2 i due fili blu? o devo mettere un blu all'1, un blu e un rosso al 2? oppure un blu e il nero e all'altro un blu e un rosso?dato che mi si sono già fulminati i pulsanti esterni, vorrei evitare di fulminarli di nuovo visto che sono nuovi. Ammetto il mio sconforto, quello che continuo a non capire è perché sulle scale in definitiva venivano usati due dei 4 contatti mentre al mio piano ogni contatto aveva un filo collegato. Io adesso ho staccato il pulsante e ho collegato il nero direttamente all'interruttore dato che senza quello giustamente che mi interrrompeva con un filo solo attaccato?
Dovrei battere tutti i fili per capire chi cambia colore, chi si unisce a cosa....presumo che serva il tester ma che valori devo impostare? e cosa si dovrebbe leggere? volt? ampere?
e comunque lasciatemi dire una cosa:mi fanno molta tristezza 3 cose: il microonde, il Bimby e la pentola a pressione! c'è solo una cosa che mi gratifica di più dell'emozione di coccolarmi il mio cibo mentre cuoce...indovinate cos'è? ahahahahah (ovviamente è una domanda retorica...la risposta già si sa!)
Dovrei battere tutti i fili per capire chi cambia colore, chi si unisce a cosa....presumo che serva il tester ma che valori devo impostare? e cosa si dovrebbe leggere? volt? ampere?
e comunque lasciatemi dire una cosa:mi fanno molta tristezza 3 cose: il microonde, il Bimby e la pentola a pressione! c'è solo una cosa che mi gratifica di più dell'emozione di coccolarmi il mio cibo mentre cuoce...indovinate cos'è? ahahahahah (ovviamente è una domanda retorica...la risposta già si sa!)
-

rosannamaffini
65 2 - Messaggi: 33
- Iscritto il: 4 gen 2014, 18:36
0
voti
Intendevo così
Come in tutte le cose la logica e la teoria dovrebbero darmi ragione ma tra il dire e il fare...c'è di mezzo il mare...e della fantasia nel caso del tuo installatore
.
La soluzione più sicura sarebbe quella di battere i conduttori come diceva
mir ma da soli è un lavoro abbastanza lungo e potrebbe diventare moolto snervante
sei già stata brava a farti non so quante volte su e giù per le scale.
Per battere i fili ti devi procurare un filo abbastanza lungo che arrivi dal pulsante del tuo piano al pulsante al piano di sotto.Se hai una matassa di filo puoi usare quella senza tagliarla tiri fuori l'altro capo del filo.
Il tester va impostato in ohm in questo caso puoi metterlo sul valore più alto prima dei M_ohm(non mi faceva la M maiuscola).
TOGLI TENSIONE all'impianto ed inizi a cercare le corrispondenze staccando i fili dal pulsante (onde evitare equivoci).
Se il valore sul tester è 1 i due fili non corrispondono.
Se il valore è 0 i due fili corrispondono.
In questo modo riesci a trovare i fili con esattezza.
Sinceramente io farei l'esperimento del neutro poi la scelta è tua
Come dicevo nel post precedente non dovrebbe succedere niente al massimo non si eccita il relè però non essendo li di persona e non avendo visto c'è sempre un punto di domanda.
P.S. Ho rubato il tester a
mir speriamo non faccia pagare i diritti d'autore
Come in tutte le cose la logica e la teoria dovrebbero darmi ragione ma tra il dire e il fare...c'è di mezzo il mare...e della fantasia nel caso del tuo installatore
La soluzione più sicura sarebbe quella di battere i conduttori come diceva
sei già stata brava a farti non so quante volte su e giù per le scale.Per battere i fili ti devi procurare un filo abbastanza lungo che arrivi dal pulsante del tuo piano al pulsante al piano di sotto.Se hai una matassa di filo puoi usare quella senza tagliarla tiri fuori l'altro capo del filo.
Il tester va impostato in ohm in questo caso puoi metterlo sul valore più alto prima dei M_ohm(non mi faceva la M maiuscola).
TOGLI TENSIONE all'impianto ed inizi a cercare le corrispondenze staccando i fili dal pulsante (onde evitare equivoci).
Se il valore sul tester è 1 i due fili non corrispondono.
Se il valore è 0 i due fili corrispondono.
In questo modo riesci a trovare i fili con esattezza.
Sinceramente io farei l'esperimento del neutro poi la scelta è tua
Come dicevo nel post precedente non dovrebbe succedere niente al massimo non si eccita il relè però non essendo li di persona e non avendo visto c'è sempre un punto di domanda.
P.S. Ho rubato il tester a
...e come diceva sempre mio nonno: "Nessuno nasce imparato"
0
voti
Nello specifico devi trovarti il ritorno del pulsante che è il filo che va collegato a A1 del relè.
E capire se sul pulsante ci va la fase o il neutro lo puoi verificare tra il 2 piano e il primo poiché al secondo hai sia fase che neutro
E capire se sul pulsante ci va la fase o il neutro lo puoi verificare tra il 2 piano e il primo poiché al secondo hai sia fase che neutro
...e come diceva sempre mio nonno: "Nessuno nasce imparato"
0
voti
grazie mille dell'aiuto. La settimana prossima mio marito ha un giorno di riposo infrasettimanale e proveremo con calma a battere le linee come mi avete spiegato(in due sarà meno faticoso). <per ora lascio funzionare quello che funziona e resto in standby. quando mi sentirete la prossima volta mi sentirete gridare EUREKA!!!!! o almeno spero. Senz'altro dopo tutta la pena che vi siete dati il minimo che posso fare è farvi sapere come e se si è risolta la cosa.
-

rosannamaffini
65 2 - Messaggi: 33
- Iscritto il: 4 gen 2014, 18:36
Torna a Impianti, sicurezza e quadristica
Chi c’è in linea
Visitano il forum: Nessuno e 414 ospiti

Elettrotecnica e non solo (admin)
Un gatto tra gli elettroni (IsidoroKZ)
Esperienza e simulazioni (g.schgor)
Moleskine di un idraulico (RenzoDF)
Il Blog di ElectroYou (webmaster)
Idee microcontrollate (TardoFreak)
PICcoli grandi PICMicro (Paolino)
Il blog elettrico di carloc (carloc)
DirtEYblooog (dirtydeeds)
Di tutto... un po' (jordan20)
AK47 (lillo)
Esperienze elettroniche (marco438)
Telecomunicazioni musicali (clavicordo)
Automazione ed Elettronica (gustavo)
Direttive per la sicurezza (ErnestoCappelletti)
EYnfo dall'Alaska (mir)
Apriamo il quadro! (attilio)
H7-25 (asdf)
Passione Elettrica (massimob)
Elettroni a spasso (guidob)
Bloguerra (guerra)






