Come leggere sigla potenziometro
Moderatori:
carloc,
g.schgor,
BrunoValente,
IsidoroKZ
45 messaggi
• Pagina 4 di 5 • 1, 2, 3, 4, 5
0
voti
pensi di spendere meno?
-

PietroBaima
90,7k 7 12 13 - G.Master EY

- Messaggi: 12206
- Iscritto il: 12 ago 2012, 1:20
- Località: Londra
0
voti
non posso disporre diversamente i led perché sono pre montati su una basetta, se volessi disporre diversamente sarebbe un casino
0
voti
Se sono LED bianchi illuminano parecchio, credo. 10 mA massimo ciascuno dovrebbero bastare.. Totale 240 mA solo per I LED.
Riesci ad aggiungere una resistenza in serie a ciascuno ?
Riesci ad aggiungere una resistenza in serie a ciascuno ?
0
voti
ho già un interruttore a tre pin e una resistenza la compro dopo averla calcolata. Quindi posso almeno avere due luminosità diverse, una bassa e una alta.
si spendo molto di meno
si spendo molto di meno0
voti
0
voti
ho provato su ogni singolo led la tensione è la stessaù
Non penso di poter applicare niente e modificare niente su questa basetta
ce l'ho già il deviatore
Non penso di poter applicare niente e modificare niente su questa basetta
ce l'ho già il deviatore
Ultima modifica di
simo85 il 4 gen 2015, 19:09, modificato 2 volte in totale.
Motivazione: Allegata immagine sul forum.
Motivazione: Allegata immagine sul forum.
2
voti
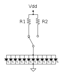
Se si può mettere un potenziometro vuol dire che spazio ce n'è e si possono fare operazioni meccaniche.
Se si vuole una luce attenuata e fissa direi di mettere una resistenza al posto del ponticello e la cosa finisce lì. Se si vuole una luce regolabile fosse la cosa più semplice è mette due resistenze in serie e con un interruttore se ne cortocircuita una. Mi pareche sia già anche stato suggerito. Si hanno due livelli di luce senza usare componenti difficili da trovare o circuiti complicati.
Se poi ti piacciono i led e vuoi imparare i problemi che ci sono ad accenderli, nei vari blog degli utenti ci sono parecchi articoli in proposito.
Se si vuole una luce attenuata e fissa direi di mettere una resistenza al posto del ponticello e la cosa finisce lì. Se si vuole una luce regolabile fosse la cosa più semplice è mette due resistenze in serie e con un interruttore se ne cortocircuita una. Mi pareche sia già anche stato suggerito. Si hanno due livelli di luce senza usare componenti difficili da trovare o circuiti complicati.
Se poi ti piacciono i led e vuoi imparare i problemi che ci sono ad accenderli, nei vari blog degli utenti ci sono parecchi articoli in proposito.
Per usare proficuamente un simulatore, bisogna sapere molta più elettronica di lui
Plug it in - it works better!
Il 555 sta all'elettronica come Arduino all'informatica! (entrambi loro malgrado)
Se volete risposte rispondete a tutte le mie domande
Plug it in - it works better!
Il 555 sta all'elettronica come Arduino all'informatica! (entrambi loro malgrado)
Se volete risposte rispondete a tutte le mie domande
0
voti
aspettate è troppo grande l'immagine e non l'ha presa tutta adesso la carico bene
1
voti
Rochira35 ha scritto:ho provato su ogni singolo LED la tensione è la stessa
Ci credo! Sono in parallelo!
non usare server esterni per le foto.
Per usare proficuamente un simulatore, bisogna sapere molta più elettronica di lui
Plug it in - it works better!
Il 555 sta all'elettronica come Arduino all'informatica! (entrambi loro malgrado)
Se volete risposte rispondete a tutte le mie domande
Plug it in - it works better!
Il 555 sta all'elettronica come Arduino all'informatica! (entrambi loro malgrado)
Se volete risposte rispondete a tutte le mie domande
45 messaggi
• Pagina 4 di 5 • 1, 2, 3, 4, 5
Chi c’è in linea
Visitano il forum: Nessuno e 53 ospiti

Elettrotecnica e non solo (admin)
Un gatto tra gli elettroni (IsidoroKZ)
Esperienza e simulazioni (g.schgor)
Moleskine di un idraulico (RenzoDF)
Il Blog di ElectroYou (webmaster)
Idee microcontrollate (TardoFreak)
PICcoli grandi PICMicro (Paolino)
Il blog elettrico di carloc (carloc)
DirtEYblooog (dirtydeeds)
Di tutto... un po' (jordan20)
AK47 (lillo)
Esperienze elettroniche (marco438)
Telecomunicazioni musicali (clavicordo)
Automazione ed Elettronica (gustavo)
Direttive per la sicurezza (ErnestoCappelletti)
EYnfo dall'Alaska (mir)
Apriamo il quadro! (attilio)
H7-25 (asdf)
Passione Elettrica (massimob)
Elettroni a spasso (guidob)
Bloguerra (guerra)
pigreco]=π

dei LED è meglio.

