Salve a tutti, ho la necessità di convertire il valore di uscita di un T.A. in una tensione proporzionale alla corrente. Pensavo di fare cosi. Che ne pensate?? Ho visto in giro che ci sono già dei T.A. con uscita 0-10V /4-20mA ma sono interessato a "capire" se quello che ho pensato è fattibile
Leggere tensione su uscita T.A.
Moderatori:
SandroCalligaro,
mario_maggi,
fpalone
20 messaggi
• Pagina 1 di 2 • 1, 2
1
voti
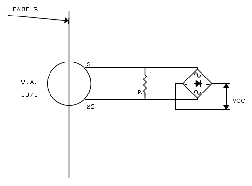
E mettere la resistenza dopo il ponte raddrizzatore? Eviti l'errore di caduta dei diodi. E devi fare attenzione che il TA non saturi.
Per usare proficuamente un simulatore, bisogna sapere molta più elettronica di lui
Plug it in - it works better!
Il 555 sta all'elettronica come Arduino all'informatica! (entrambi loro malgrado)
Se volete risposte rispondete a tutte le mie domande
Plug it in - it works better!
Il 555 sta all'elettronica come Arduino all'informatica! (entrambi loro malgrado)
Se volete risposte rispondete a tutte le mie domande
0
voti
Se provo in questo modo???
0
voti
Lo schema non e` giusto. Hai preso l'uscita dall'operazionale, va presa fra R2 e D2 e deve andare su un punto ad alta impedenza. Anche l'ingresso e` critico: la resistenza R1 evita i problemi della tensione di offset dell'operazionale, ma fa aumentare la tensione all'uscita del TA. Inoltre il TA deve uscire con una corrente massima di 10mA, altrimenti l'operazionale non ce la fa.
In definitiva: ponte e resistenza dopo il ponte e ti togli tutti i problemi!
In definitiva: ponte e resistenza dopo il ponte e ti togli tutti i problemi!
Per usare proficuamente un simulatore, bisogna sapere molta più elettronica di lui
Plug it in - it works better!
Il 555 sta all'elettronica come Arduino all'informatica! (entrambi loro malgrado)
Se volete risposte rispondete a tutte le mie domande
Plug it in - it works better!
Il 555 sta all'elettronica come Arduino all'informatica! (entrambi loro malgrado)
Se volete risposte rispondete a tutte le mie domande
0
voti
1
voti
Non so che TA stai usando (50/5 non basta per caratterizzare il TA) non so che corrente vuoi misurare, non so che tensione vuoi ottenere in uscita (12V non basta)... e non ho la palla di cristallo 
Per usare proficuamente un simulatore, bisogna sapere molta più elettronica di lui
Plug it in - it works better!
Il 555 sta all'elettronica come Arduino all'informatica! (entrambi loro malgrado)
Se volete risposte rispondete a tutte le mie domande
Plug it in - it works better!
Il 555 sta all'elettronica come Arduino all'informatica! (entrambi loro malgrado)
Se volete risposte rispondete a tutte le mie domande
0
voti
class 1 [VA]=1
Frequenza di lavoro 40-60Hz
Corrente secondaria 5A
Sovracorrente permanente 120%IP
Tensione di isolamento Ui 720
Corrente dinamica nominale Idyn 2.5xIth per 1 sec.
Isolamento in aria Classe E.
Quello che vorrei avere è: assorbimento cavo 0A------tensione T.A. 0Vdc
assorbimento cavo 50A-----tensione T.A. 10Vdc
0
voti
Non mi pare si possa usare una resistenza da 2ohm: la tensione di uscita di 10V farebbe saturare il trasformatore oppure dare degli errori molto elevati. Si deve usare una resistenza molto bassa, direi massimo 80mohm e poi devi amplificare.
La specifica che da` questa indicazione e` che per essere in classe 1 di errore la massima potenza che puo` erogare il trasformatore e` di 1VA.
La specifica che da` questa indicazione e` che per essere in classe 1 di errore la massima potenza che puo` erogare il trasformatore e` di 1VA.
Per usare proficuamente un simulatore, bisogna sapere molta più elettronica di lui
Plug it in - it works better!
Il 555 sta all'elettronica come Arduino all'informatica! (entrambi loro malgrado)
Se volete risposte rispondete a tutte le mie domande
Plug it in - it works better!
Il 555 sta all'elettronica come Arduino all'informatica! (entrambi loro malgrado)
Se volete risposte rispondete a tutte le mie domande
20 messaggi
• Pagina 1 di 2 • 1, 2
Chi c’è in linea
Visitano il forum: Google [Bot] e 7 ospiti

Elettrotecnica e non solo (admin)
Un gatto tra gli elettroni (IsidoroKZ)
Esperienza e simulazioni (g.schgor)
Moleskine di un idraulico (RenzoDF)
Il Blog di ElectroYou (webmaster)
Idee microcontrollate (TardoFreak)
PICcoli grandi PICMicro (Paolino)
Il blog elettrico di carloc (carloc)
DirtEYblooog (dirtydeeds)
Di tutto... un po' (jordan20)
AK47 (lillo)
Esperienze elettroniche (marco438)
Telecomunicazioni musicali (clavicordo)
Automazione ed Elettronica (gustavo)
Direttive per la sicurezza (ErnestoCappelletti)
EYnfo dall'Alaska (mir)
Apriamo il quadro! (attilio)
H7-25 (asdf)
Passione Elettrica (massimob)
Elettroni a spasso (guidob)
Bloguerra (guerra)






