Ho visto il tuo post dopo aver pubblicato il mio.
Si effettivamente con gli aghi elettricamente uniti è normale avere il corto circuito
Realizzazione pannello comandi per modellismo ferroviario
33 messaggi
• Pagina 4 di 4 • 1, 2, 3, 4
1
voti
Ho letto solo ora questa discussione.
Mi è rimasto, da quando mi interessavo di ferromodellismo, del materiale della Arnold Rapido (scala N).
Sono un semaforo, un paio di sezioni per sganciamento vagoni, un paio di deviatori a levetta, un box deviatori e un pulsante per comando scambio con incorporate lampadine luminose (per il quadro sinottico), più svariati spezzoni di curve e rettilinei.
A qualcuno interessano?
Max
Mi è rimasto, da quando mi interessavo di ferromodellismo, del materiale della Arnold Rapido (scala N).
Sono un semaforo, un paio di sezioni per sganciamento vagoni, un paio di deviatori a levetta, un box deviatori e un pulsante per comando scambio con incorporate lampadine luminose (per il quadro sinottico), più svariati spezzoni di curve e rettilinei.
A qualcuno interessano?
Max
Se funziona quasi bene, è tutto sbagliato. A.Savatteri/M.Mazza
0
voti
Buonasera a tutti.
Dopo un po di tempo riprendo il thread perché ho bisogno di condividere con voi alcune scelte fatte.
Come suggerito da qualcuno, ho iniziato ad usare arduino per gestire la visualizzazione e l'impostazione della posizione degli scambi.
Nel disegno riporto la parte sinistra della mia stazione in cui sono presenti quattro scambi (A, B, C, D) secondo lo schema.
Nella parte destra della stazione ho la stessa sequenza di scambi con la differenza di essere disposti in modo speculare a questi.
Ora però per semplicità faccio riferimento solo a questa sezione.
In pratica come detto precedentemente ogni scambio può assumere due posizioni: corretto tracciato (x) oppure deviato (y)
Nello scketch di arduino avevo intenzione di definirmi un byte con il quale rappresentavo lo stato di tutti e quattro gli scambi. Per ogni scambio utilizzavo 2 bit e i valori possibili per ogni scambio sono 10 o 01 (11 e 00 non sono ammessi). Ad esempio:
Vd = 01 01 01 01 che equivale a definire lo stato degli scambi AxAy BxBy CxCy DxDy
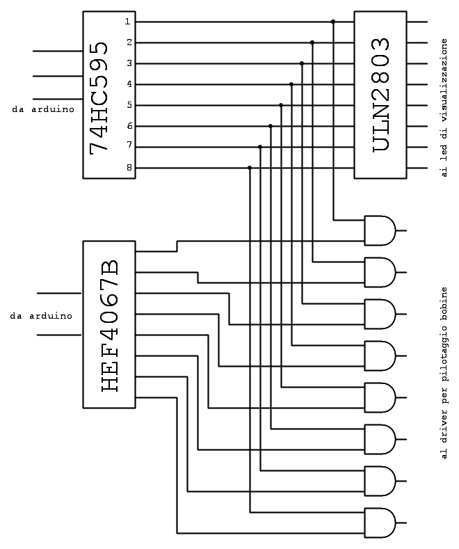
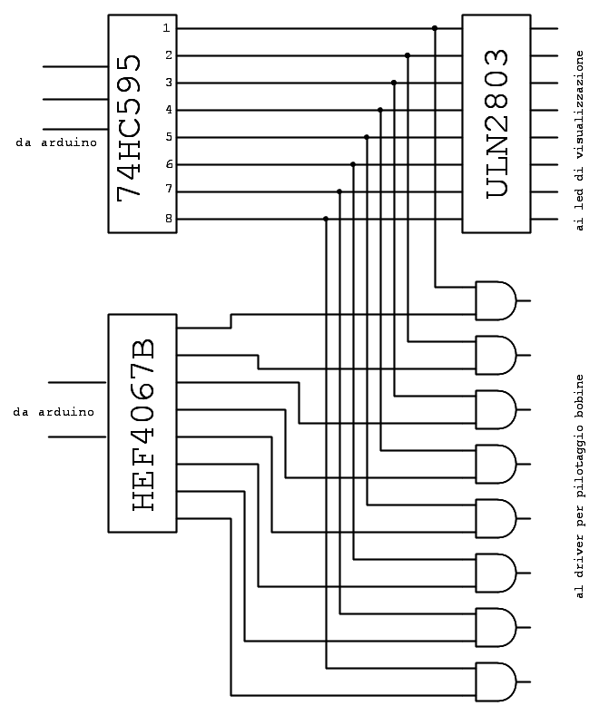
Questo valore di Vd opportunamente composto, lo invio tramite comunicazione seriale ad uno shift register SIPO (74HC595) abilitando la scrittura delle uscite solo quando ho terminato di scrivere l'intero valore di Vd. Ho pensato di utilizzare un SIPO in modo da "consumare" solo 3 uscite di arduino e non di più.
Con le uscite del SIPO tramite un ULN2803 vado a pilotare la parte di visualizzazione (blocchi di led)
A questo punto dovrei inviare anche il segnale per pilotare le bobine degli scambi. Leggendo direttamente il valore in uscita dal SIPO avrei l'attivazione contemporanea di tutte le bobine che fanno riferimento ai valori 1 di uscita dello stesso. Avevo pensato quindi di inviare in modo "sequenziale" i valori di uscita del SIPO al driver per il pilotaggio delle bobine in modo da non sovraccaricare l'alimentatore delle stesse.
Avevo pensato di utilizzare un multiplexer (HEF4067B) pilotato da arduino con il quale inviare i singoli valori di uscita del SIPO. Per la precisione qualcosa del genere:
Dovrebbe funzionare in questo modo:
- In ingresso al multiplex HEF4067B deve esserci un valore tale da avere tutte e 8 le uscite a 0.
- Viene scelto un tracciato e composto il valore della variabile Vd
- la variabile Vd viene inviata allo shift register 74HC595.
- al termine dell'invio della variabile Vd viene impostato a 1 il valore del pin di Abilitazione del 74HC595 che provvede a trasferire i valori dal registro alle uscite. Queste tramite i darlington vanno a pilotare i led.
- Successivamente arduino invia con una determinata frequenza valori da 1 a 8 al multplex HEF4067B che mettendo in AND i suoi valori di uscita con quelli dello shift register provvede ad propagare in modo sequenziale i valori 1 al driver di comando delle bobine.
- al termine del cliclo il multpliex riceve in ingresso i dati necessari a impostare tutte le sue uscite a 0.
al termine di questo ciclo il circuito è pronto ad eseguire un nuovo cambio itinerario
Che ne pensate?
Grazie a tutti quelli che hanno avuto la voglia e la pazienza di leggere fino a qua.
Grazie
Dopo un po di tempo riprendo il thread perché ho bisogno di condividere con voi alcune scelte fatte.
Come suggerito da qualcuno, ho iniziato ad usare arduino per gestire la visualizzazione e l'impostazione della posizione degli scambi.
Nel disegno riporto la parte sinistra della mia stazione in cui sono presenti quattro scambi (A, B, C, D) secondo lo schema.
Nella parte destra della stazione ho la stessa sequenza di scambi con la differenza di essere disposti in modo speculare a questi.
Ora però per semplicità faccio riferimento solo a questa sezione.
In pratica come detto precedentemente ogni scambio può assumere due posizioni: corretto tracciato (x) oppure deviato (y)
Nello scketch di arduino avevo intenzione di definirmi un byte con il quale rappresentavo lo stato di tutti e quattro gli scambi. Per ogni scambio utilizzavo 2 bit e i valori possibili per ogni scambio sono 10 o 01 (11 e 00 non sono ammessi). Ad esempio:
Vd = 01 01 01 01 che equivale a definire lo stato degli scambi AxAy BxBy CxCy DxDy
Questo valore di Vd opportunamente composto, lo invio tramite comunicazione seriale ad uno shift register SIPO (74HC595) abilitando la scrittura delle uscite solo quando ho terminato di scrivere l'intero valore di Vd. Ho pensato di utilizzare un SIPO in modo da "consumare" solo 3 uscite di arduino e non di più.
Con le uscite del SIPO tramite un ULN2803 vado a pilotare la parte di visualizzazione (blocchi di led)
A questo punto dovrei inviare anche il segnale per pilotare le bobine degli scambi. Leggendo direttamente il valore in uscita dal SIPO avrei l'attivazione contemporanea di tutte le bobine che fanno riferimento ai valori 1 di uscita dello stesso. Avevo pensato quindi di inviare in modo "sequenziale" i valori di uscita del SIPO al driver per il pilotaggio delle bobine in modo da non sovraccaricare l'alimentatore delle stesse.
Avevo pensato di utilizzare un multiplexer (HEF4067B) pilotato da arduino con il quale inviare i singoli valori di uscita del SIPO. Per la precisione qualcosa del genere:
Dovrebbe funzionare in questo modo:
- In ingresso al multiplex HEF4067B deve esserci un valore tale da avere tutte e 8 le uscite a 0.
- Viene scelto un tracciato e composto il valore della variabile Vd
- la variabile Vd viene inviata allo shift register 74HC595.
- al termine dell'invio della variabile Vd viene impostato a 1 il valore del pin di Abilitazione del 74HC595 che provvede a trasferire i valori dal registro alle uscite. Queste tramite i darlington vanno a pilotare i led.
- Successivamente arduino invia con una determinata frequenza valori da 1 a 8 al multplex HEF4067B che mettendo in AND i suoi valori di uscita con quelli dello shift register provvede ad propagare in modo sequenziale i valori 1 al driver di comando delle bobine.
- al termine del cliclo il multpliex riceve in ingresso i dati necessari a impostare tutte le sue uscite a 0.
al termine di questo ciclo il circuito è pronto ad eseguire un nuovo cambio itinerario
Che ne pensate?
Grazie a tutti quelli che hanno avuto la voglia e la pazienza di leggere fino a qua.
Grazie
33 messaggi
• Pagina 4 di 4 • 1, 2, 3, 4
Torna a Costruzione, riparazione, riutilizzo
Chi c’è in linea
Visitano il forum: Nessuno e 18 ospiti

Elettrotecnica e non solo (admin)
Un gatto tra gli elettroni (IsidoroKZ)
Esperienza e simulazioni (g.schgor)
Moleskine di un idraulico (RenzoDF)
Il Blog di ElectroYou (webmaster)
Idee microcontrollate (TardoFreak)
PICcoli grandi PICMicro (Paolino)
Il blog elettrico di carloc (carloc)
DirtEYblooog (dirtydeeds)
Di tutto... un po' (jordan20)
AK47 (lillo)
Esperienze elettroniche (marco438)
Telecomunicazioni musicali (clavicordo)
Automazione ed Elettronica (gustavo)
Direttive per la sicurezza (ErnestoCappelletti)
EYnfo dall'Alaska (mir)
Apriamo il quadro! (attilio)
H7-25 (asdf)
Passione Elettrica (massimob)
Elettroni a spasso (guidob)
Bloguerra (guerra)





