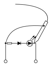
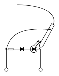
L'ordine di grandezza è quello ma dovrebbe venire un po' meno, qualcosa intorno a 13mA, forse i 24 V sono abbondanti.
Ti consiglio di togliere la resistenza da 100 ohm che non serve, la sonda puoi metterla ai capi della resistenza da 2.2k e con quella puoi fare il conto.
Ti consiglio inoltre di eseguire due misurazioni:
La prima per misurare l'ampiezza della tensione di ingresso che non è detto sia proprio 24 V a cui dovrebbe corrispondere un valore di picco di 33.9V
La seconda per misurare la caduta sulla resistenza
Led in corrente alternata.
Moderatori:
carloc,
g.schgor,
BrunoValente,
IsidoroKZ
32 messaggi
• Pagina 3 di 4 • 1, 2, 3, 4
0
voti
Ok, in realta il trasformatore con cui sto facendo le prove è un po abbondante, misurando come suggeritomi da
BrunoValente la prima misura da 80 Vpp e 29 Vrms e sul resistore 37 Vpp e 17 Vrms.
Quindi il picco massimo di corrente sul led con R= 2.2 kohm vale:
37/2200 = 17 mA
E' corretto?
Quindi il picco massimo di corrente sul led con R= 2.2 kohm vale:
37/2200 = 17 mA
E' corretto?
2
voti
lucaking ha scritto:Ma è giusto il ragionamento
per trovare la corrente massima sul led?
Si`, e` giusto, la corrente di picco e` di 16mA. La corrente media e` data dall'area di una di quelle semionde diviso per il periodo della rete, 20ms. L'area di una mezza sinusoide e` pari a 2/pigreco per base per altezza. La base e` di 9.8ms, quindi il valore medio media e` pari a
Il valore medio e` quello che da` la quantita` di luce emessa. Un multimetro NON avero valore efficace "sente" una corrente media di 5mA ma ti fa leggere 5.5mA circa. La corrente efficace non ti serve, ma viene 8mA e un multimetro a vero valore efficace mostra questo valore.
Per usare proficuamente un simulatore, bisogna sapere molta più elettronica di lui
Plug it in - it works better!
Il 555 sta all'elettronica come Arduino all'informatica! (entrambi loro malgrado)
Se volete risposte rispondete a tutte le mie domande
Plug it in - it works better!
Il 555 sta all'elettronica come Arduino all'informatica! (entrambi loro malgrado)
Se volete risposte rispondete a tutte le mie domande
1
voti
Non ti sto a scrivere la differenza tra valore medio e valore efficace perché lo trovi sul qualsiasi libro di elettrotecnica (consiglio L'Olivieri-Ravelli) oppure in rete, ma piuttosto di specifico il termine RMS.
Il valore efficace di una qualsiasi forma d'onda si ottiene effettuando la radice quadrata della media dei quadri dei valori istantanei in un periodio (più difficile a dirlo che a scriverlo
).
Da questa espressione deriva il termine RMS, ovvero Root(radice) Mean (media) Square (quadrato).
Spero di averti fatto capire il termine RMS che è solo un modo per indicare la medesima cosa.
Il valore efficace di una qualsiasi forma d'onda si ottiene effettuando la radice quadrata della media dei quadri dei valori istantanei in un periodio (più difficile a dirlo che a scriverlo
Da questa espressione deriva il termine RMS, ovvero Root(radice) Mean (media) Square (quadrato).
Spero di averti fatto capire il termine RMS che è solo un modo per indicare la medesima cosa.
0
voti
Scusate la mia tardaggine ma ci tengo a capirlo bene.
Valore efficace = vero valore efficace = RMS = radice quardata della media dei valori istantanei dell' intero periodo elevati al quadrato. (multimetri TRMS)
Valore medio = area sottesa dalla funzione con l' asse x fratto il periodo. (multimetri standard)
Giusto o mi do all' ippica?
Valore efficace = vero valore efficace = RMS = radice quardata della media dei valori istantanei dell' intero periodo elevati al quadrato. (multimetri TRMS)
Valore medio = area sottesa dalla funzione con l' asse x fratto il periodo. (multimetri standard)
Giusto o mi do all' ippica?
0
voti
Il futuro appartiene a coloro che credono nella bellezza dei propri sogni.
Formule LaTeX
Uso di LaTeX sul forum
⋮ƎlectroYou
Formule LaTeX
Uso di LaTeX sul forum
⋮ƎlectroYou
1
voti
Vero valore efficace, con l'analogo true rms e` solo una frase commerciale, non si usa in campo tecnico.
Il valore medio e` quello che hai detto. I voltmetri in realta` misurano il valore medio del modulo della tensione, altrimenti una sinusoide avrebbe valore medio nullo.
La tensione di rete ha valore medio del modulo di 207V e un voltmetro economico misura questo valore ma mostra sull'indice o sul display 230V perche' suppone che la tensione applicata sia sinusoidale e fa vedere il valore efficace di una sinusoide che ha un valore medio del modulo di 207V.
Se al posto di una sinusoide si mettesse in ingresso un triangolo con lo stesso valore medio del modulo, 207V, il voltmetro mostrerebbe sempre 230V, anche se il valore efficace di questa tensione triangolare sarebbe di 239V.
Se invece ci fosse una onda quadra con valore medio del modulo di 207V, il voltmetro economico mostrerebbe sempre 230V, anche se il valore efficace e` solo di 207V.
Il valore medio e` quello che hai detto. I voltmetri in realta` misurano il valore medio del modulo della tensione, altrimenti una sinusoide avrebbe valore medio nullo.
La tensione di rete ha valore medio del modulo di 207V e un voltmetro economico misura questo valore ma mostra sull'indice o sul display 230V perche' suppone che la tensione applicata sia sinusoidale e fa vedere il valore efficace di una sinusoide che ha un valore medio del modulo di 207V.
Se al posto di una sinusoide si mettesse in ingresso un triangolo con lo stesso valore medio del modulo, 207V, il voltmetro mostrerebbe sempre 230V, anche se il valore efficace di questa tensione triangolare sarebbe di 239V.
Se invece ci fosse una onda quadra con valore medio del modulo di 207V, il voltmetro economico mostrerebbe sempre 230V, anche se il valore efficace e` solo di 207V.
Per usare proficuamente un simulatore, bisogna sapere molta più elettronica di lui
Plug it in - it works better!
Il 555 sta all'elettronica come Arduino all'informatica! (entrambi loro malgrado)
Se volete risposte rispondete a tutte le mie domande
Plug it in - it works better!
Il 555 sta all'elettronica come Arduino all'informatica! (entrambi loro malgrado)
Se volete risposte rispondete a tutte le mie domande
0
voti
IsidoroKZ ha scritto:I voltmetri in realta` misurano il valore medio del modulo della tensione, altrimenti una sinusoide avrebbe valore medio nullo.
Giusto, l' ho pure pensato ma non lo ho scritto.
Bene, un po di nebbia si è diradata, grazie a tutti.

0
voti
Ok, ho deciso in nome della semplicita di adottare questo schema per i led
Se ho capito bene, R1 dovrebbe limitare la corrente massima sul led a:


Ora pero non so come calcolare i Watt che dovra dissipare la resistenza, ho pensato a qualcosa del genere, ma non so se va bene:

pensavo dovesse bastare un resistore piu piccolo...
Se ho capito bene, R1 dovrebbe limitare la corrente massima sul led a:


Ora pero non so come calcolare i Watt che dovra dissipare la resistenza, ho pensato a qualcosa del genere, ma non so se va bene:

pensavo dovesse bastare un resistore piu piccolo...
32 messaggi
• Pagina 3 di 4 • 1, 2, 3, 4
Chi c’è in linea
Visitano il forum: Nessuno e 135 ospiti

Elettrotecnica e non solo (admin)
Un gatto tra gli elettroni (IsidoroKZ)
Esperienza e simulazioni (g.schgor)
Moleskine di un idraulico (RenzoDF)
Il Blog di ElectroYou (webmaster)
Idee microcontrollate (TardoFreak)
PICcoli grandi PICMicro (Paolino)
Il blog elettrico di carloc (carloc)
DirtEYblooog (dirtydeeds)
Di tutto... un po' (jordan20)
AK47 (lillo)
Esperienze elettroniche (marco438)
Telecomunicazioni musicali (clavicordo)
Automazione ed Elettronica (gustavo)
Direttive per la sicurezza (ErnestoCappelletti)
EYnfo dall'Alaska (mir)
Apriamo il quadro! (attilio)
H7-25 (asdf)
Passione Elettrica (massimob)
Elettroni a spasso (guidob)
Bloguerra (guerra)











