... almeno, il nome corrisponde a quello che si legge in una delle foto.
Max
Max

Max

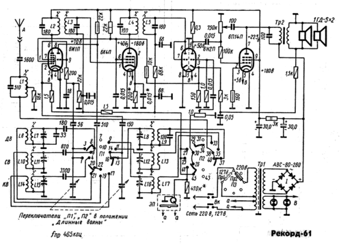
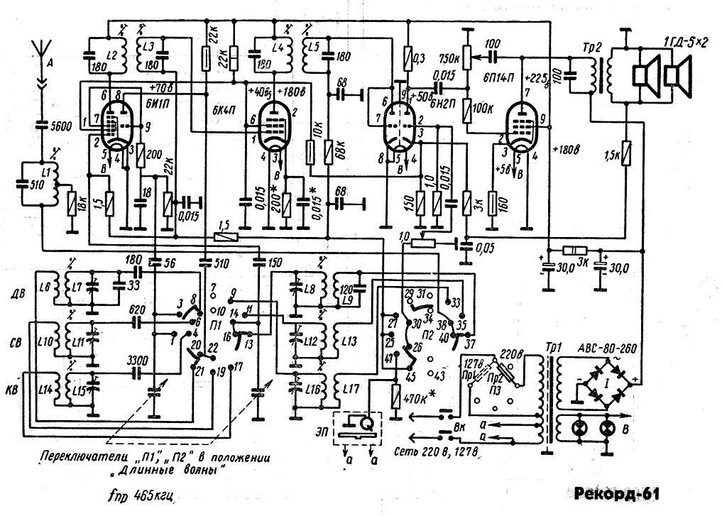
Le valvole sono 4.
Nr. 3 sono con 9 piedini (direi tutte uguali la distanza tra i buchi)
Nr. 1 è a 7 piedini.


Quel potenziometro da 750K sullo stadio d'uscita, con il cursore in serie al condensatore, che fa?
IlGuru ha scritto:Quel potenziometro da 750K ...... che fa?

MarcoD ha scritto:...
Per la prima valvola non ritengo sia una ECFxx, potrebbe essere una ECH81/6AJ8 .....

Torna a Costruzione, riparazione, riutilizzo
Visitano il forum: Nessuno e 36 ospiti