tensione 24 v eccitazione indipendente, potenza circa 200w , deve girare in entrambi sensi e si deve poterne regolare la velocità di rotazione. Ringrazio tutti quelli che mi vorranno aiutare.
azionamento motore cc
Moderatori:
SandroCalligaro,
mario_maggi,
fpalone
26 messaggi
• Pagina 1 di 3 • 1, 2, 3
0
voti
Salve a tutti , so che quest'argomento è stato trattato più volte , ma avrei bisogno di uno schema per realizzare un azionamento per un motoriduttore in cc con le seguenti caratteristiche;
tensione 24 v eccitazione indipendente, potenza circa 200w , deve girare in entrambi sensi e si deve poterne regolare la velocità di rotazione. Ringrazio tutti quelli che mi vorranno aiutare.
tensione 24 v eccitazione indipendente, potenza circa 200w , deve girare in entrambi sensi e si deve poterne regolare la velocità di rotazione. Ringrazio tutti quelli che mi vorranno aiutare.
0
voti
Ringrazio molto i signori che mi hanno risposto , tuttavia questi schemi non mi aiutano molto,ho trovato però lo schema di un vecchio azionamento che vi mostrerò appena riesco a disegnarlo ,vediamo se partendo da quello riesco a risolvere . Grazie ancora
0
voti
g.schgor ha scritto:La complicazione è la reversibilità.
Se puoi cambiare la direzione partendo da motore fermo,
può essere di molto semplificato.
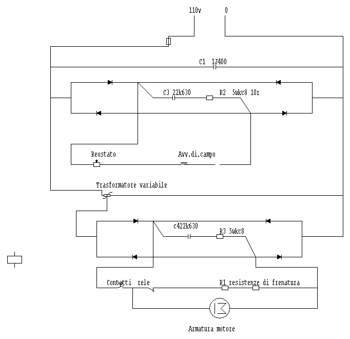
Salve , il motore in questione è quello di un trascinatore per una macchina da falegnameria , non ha grossi problemi di dinamica in quanto i comandi , start , stop , e inversione (non sempre necessaria )sono manuali . Aggiungo un semplice schema di un azionamento che ho visto funzionare per almeno quarant'anni senza grossi problemi ,però è per un motore a 110 V ed inoltre non so se sia ancora reperibile un trasformatore variabile del tipo utilizzato in questo caso.
PS. non riesco ad inviare il file di disegno ,come bisogna procedere?.
0
voti
o il tuo schema lo disegni con fidocadj oppure comprimi il file il formato ZIP e poi lo alleghi qua secondo la procedura descritta qua: http://www.electroyou.it/donj/wiki/guid ... e_allegato
rini -
lectroYou
lectroYou0
voti
Ringrazio Rini ma pur avendo fatto lo schema con fidocad non va bene lo stesso. la procedura
"scegli file >Visualizza codice " non la trovo ,provo ad allegarlo in formato Jpeg.Saluti a tutti
"scegli file >Visualizza codice " non la trovo ,provo ad allegarlo in formato Jpeg.Saluti a tutti
- Allegati
-
- schema.jpg (46.56 KiB) Osservato 6873 volte
0
voti
Lo schema inviato si basa sulla variazione della tensione di armatura
(non "regola" quindi la velocità, ma permette solo di variarla).
Inoltre può variare la corrente di campo (quindi la caratteristica
di coppia del motore)-
Questo con un motore in continua alimentato da linea a 110Vca.
Ora il tuo motore che caratteristiche ha? 24Vcc 200W, ma ha
l'eccitazione indipendente? con che valori? si può variare
il senso di rotazione invertendo il campo?
Ovviamente questo semplificherebbe l'azionamento che diverrebbe
solo un PWM da 8.5A.
Attendo precisazioni sul motore.
(non "regola" quindi la velocità, ma permette solo di variarla).
Inoltre può variare la corrente di campo (quindi la caratteristica
di coppia del motore)-
Questo con un motore in continua alimentato da linea a 110Vca.
Ora il tuo motore che caratteristiche ha? 24Vcc 200W, ma ha
l'eccitazione indipendente? con che valori? si può variare
il senso di rotazione invertendo il campo?
Ovviamente questo semplificherebbe l'azionamento che diverrebbe
solo un PWM da 8.5A.
Attendo precisazioni sul motore.
0
voti
Prova in questo modo: quando hai finito di disegnare, fai CTRL-A e tutto il disegno diventa verde (seleziona tutto). Poi CTRL-C e lo copi nel buffer di windows.
Poi nel messaggio schiacci il bottone fcd, compaiono i due tag [fcd][/fcd]. Metti il cursore fra i due tag, fai CTRL-V e il codice sorgente compare fra i due tag, e dovresti essere a posto.
Poi nel messaggio schiacci il bottone fcd, compaiono i due tag [fcd][/fcd]. Metti il cursore fra i due tag, fai CTRL-V e il codice sorgente compare fra i due tag, e dovresti essere a posto.
Per usare proficuamente un simulatore, bisogna sapere molta più elettronica di lui
Plug it in - it works better!
Il 555 sta all'elettronica come Arduino all'informatica! (entrambi loro malgrado)
Se volete risposte rispondete a tutte le mie domande
Plug it in - it works better!
Il 555 sta all'elettronica come Arduino all'informatica! (entrambi loro malgrado)
Se volete risposte rispondete a tutte le mie domande
26 messaggi
• Pagina 1 di 3 • 1, 2, 3
Chi c’è in linea
Visitano il forum: Nessuno e 24 ospiti

Elettrotecnica e non solo (admin)
Un gatto tra gli elettroni (IsidoroKZ)
Esperienza e simulazioni (g.schgor)
Moleskine di un idraulico (RenzoDF)
Il Blog di ElectroYou (webmaster)
Idee microcontrollate (TardoFreak)
PICcoli grandi PICMicro (Paolino)
Il blog elettrico di carloc (carloc)
DirtEYblooog (dirtydeeds)
Di tutto... un po' (jordan20)
AK47 (lillo)
Esperienze elettroniche (marco438)
Telecomunicazioni musicali (clavicordo)
Automazione ed Elettronica (gustavo)
Direttive per la sicurezza (ErnestoCappelletti)
EYnfo dall'Alaska (mir)
Apriamo il quadro! (attilio)
H7-25 (asdf)
Passione Elettrica (massimob)
Elettroni a spasso (guidob)
Bloguerra (guerra)






