Ho un atroce dubbio che mi perseguita da molto tempo... Gli scatti degli interruttori magnetotermici.
La cosa che so con certezza è che in un interruttore magnetotermico può intervenire la parte magnetica o la parte termica, la parte magnetica interviene quando (parlando ora di interruttori modulari per impianti in civile o terziario) viene superato un certo valore di corrente pari a 10 In per i curva C 20 In per i curva D ecc e lo scatto magnetico è istantaneo...
Sul termico invece mi vengono i dubbi... Lo scatto dovrebbe avvenire (secondo le mie conoscenze) quando si raggiunge il valore di corrente di 1,45 In entro 5s. Invece quando la correnet è compresa fra In e 1,45 In si parla di intervento "incerto"..
Qualcuno saprebbe dirmi se ciò che ho scritto è esatto oppure se è frutto della mia immaginazione?
Interruttori magnetotermici
Moderatori:
sebago,
MASSIMO-G,
lillo,
Mike
15 messaggi
• Pagina 1 di 2 • 1, 2
0
voti
per ottenere una protezione adeguata è opportuno che la curva di intervento tempo/corrente dell'interruttore scelto sia sotto quella del cavo, secondo norme CEI stabilendo che la corrente nominale dell'interruttore debba essere superiore o uguale alla corrente di impiego del circuito e inferiore o uguale alla portata della conduttura, inoltre si stabilisce che la corrente di funzionamento,entro un tempo convenzionale,debba essere inferiore o uguale a 1,45 volte la portata della conduttura,ma non mi risultano i 5s, e l'intervento incerto.
ciao
mir
ciao
mir
0
voti
Per interruttori per uso domestico e similare la regola è molto semplice.
Non scatto (per almeno un'ora) per una corrente pari a 1,13 In.
Scatto (entro un'ora non entro 5 s !!!) per una corrente pari a 1,45 In.
Se vuoi sapere esattamente valore di intervento entro, per esempio, 5 s, devi consultare la documentazione del costruttore.
Non scatto (per almeno un'ora) per una corrente pari a 1,13 In.
Scatto (entro un'ora non entro 5 s !!!) per una corrente pari a 1,45 In.
Se vuoi sapere esattamente valore di intervento entro, per esempio, 5 s, devi consultare la documentazione del costruttore.
0
voti
Ma un interruttore modulare x un impianto civile considerando lo scatto termico, scatterà dopo un tempo Tc=1h se la corrente che lo attraversa è > di 1,45In. Se la corrente è Compresa tra In e 1,45In l'intervento dell'interruttore sarà "incerto".
Esempio:
Interruttore magnetotermico C 32
In= 32 A
Kf= 1,45 perché è un interruttore automatico non regolabile
If = Kf In= 1,45 x 32= 46,4 A
Tc= 1h perché In <= 63
Corrente scatto magnetico =10 In = 10 x 32 = 320 A
Conclusioni:
1. Il dispositivo interviene sicuramente ed istantaneamente per correnti > 320A (scatto magnetico)
2. Il dispositivo interviene sicuramente e dopo un tempo Tc=1h per correnti pari a 46,4 A (scatto termico)
3. Il dispositivo può , o non intervenire per correnti comprese fra 32 e 46,4 A
Adesso ci sono?
Esempio:
Interruttore magnetotermico C 32
In= 32 A
Kf= 1,45 perché è un interruttore automatico non regolabile
If = Kf In= 1,45 x 32= 46,4 A
Tc= 1h perché In <= 63
Corrente scatto magnetico =10 In = 10 x 32 = 320 A
Conclusioni:
1. Il dispositivo interviene sicuramente ed istantaneamente per correnti > 320A (scatto magnetico)
2. Il dispositivo interviene sicuramente e dopo un tempo Tc=1h per correnti pari a 46,4 A (scatto termico)
3. Il dispositivo può , o non intervenire per correnti comprese fra 32 e 46,4 A
Adesso ci sono?
0
voti
Quasi giusto!
Punto 2. L'interruttore a 46,4 A interviene entro un'ora.
Punto 3. L'interruttore può intervenire o non intervenire per correnti comprese fra 36,16 e 46,4 A (fino a 36,16 non deve intervenire).
Ovviamente il tutto si complica perché nelle prove reali di omologazione bisogna seguire certe operazioni in successione che tengono conto del riscladamento dell'interruttore.....
Punto 2. L'interruttore a 46,4 A interviene entro un'ora.
Punto 3. L'interruttore può intervenire o non intervenire per correnti comprese fra 36,16 e 46,4 A (fino a 36,16 non deve intervenire).
Ovviamente il tutto si complica perché nelle prove reali di omologazione bisogna seguire certe operazioni in successione che tengono conto del riscladamento dell'interruttore.....
0
voti
Scusa se discuto però io su un mio manuale (manuale cremonese) trovo scritto:
".......essendo If il valore della corrente maggiore di In per il quale il dispositivo interviene dopo un tempo tc uguale a 1 ora." dopo " If=kfxIn" e ancora "kf=1,45 per interruttori non regolabili"
Poi può darsi che sia un errore di chi ha scritto il manuale..
E invece per quanto riguarda il valore di 1,13 In non ho trovato niente..
Grazie dell'aiuto!!
".......essendo If il valore della corrente maggiore di In per il quale il dispositivo interviene dopo un tempo tc uguale a 1 ora." dopo " If=kfxIn" e ancora "kf=1,45 per interruttori non regolabili"
Poi può darsi che sia un errore di chi ha scritto il manuale..
E invece per quanto riguarda il valore di 1,13 In non ho trovato niente..
Grazie dell'aiuto!!
0
voti
cercando:
CEI 64-8 , art. 433 e 434
Interruttore magnetotermico : L'interruttore magnetotermico è un dispositivo che , combinando l'azione di due diversi meccanismi ( sganciatore termico e sganciatore magnetico ) permette la protezione della porzione di impianto elettrico a valle dal corto-circuito e dal sovraccarico . Entrambi i fenomeni vanno sotto il nome di "sovracorrenti" , che possono compromettere l'integrità delle condutture e degli apparecchi utilizzatori , ma vanno trattati in maniera completamente diversa : il corto-circuito presuppone un guasto e va interrotto sempre e in tempi brevissimi , perché le correnti in gioco sono tali da produrre effetti termici e meccanici pericolosi quasi istantanei ; il sovraccarico può invece manifestarsi anche in un circuito elettricamente sano ( ad esempio a causa della corrente di spunto di un motore elettrico ) e l'entità degli effetti dannosi sulla conduttura dipende dal tempo per cui la corrente supera la portata Iz della stessa.
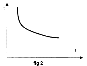
Pertanto lo sganciatore magnetico , che apre l'interruttore in caso di corto-circuito , agisce se la corrente supera una determinata soglia Im ( massima corrente ) a prescindere dal tempo per cui questa si presenta ; la sua curva caratteristica di intervento tempo-corrente è quindi una retta orizzontale ( fig. 1 ) e infatti viene anche detto sganciatore di massima corrente a tempo indipendente. Lo sganciatore termico , invece , allo scopo di lasciar passare le sovracorrenti "funzionali" ( dovute cioè al normale funzionamento dell'apparecchiatura elettrica a valle ) e interrompere le sovracorrenti "anomale" ha una curva caratteristica di intervento tempo-corrente di tipo iperbolico e viene infatti detto sganciatore di massima corrente a tempo inverso ( fig. 2 ) . In questo modo le correnti di poco superiori a quella nominale vengono permesse anche per tempi lunghi ( la retta verticale 1,05*In viene detta "corrente di non intervento" perché può essere tollerata per 1 ora nei magnetotermici con In>63A e per oltre 2 ore nei magnetotermici con In<63A ) , mentre le correnti via via crescenti saranno tollerate per tempi via via inferiori . La combinazione di queste due curve costituisce la curva di intervento del magnetotermico.
ciao
mir
CEI 64-8 , art. 433 e 434
Interruttore magnetotermico : L'interruttore magnetotermico è un dispositivo che , combinando l'azione di due diversi meccanismi ( sganciatore termico e sganciatore magnetico ) permette la protezione della porzione di impianto elettrico a valle dal corto-circuito e dal sovraccarico . Entrambi i fenomeni vanno sotto il nome di "sovracorrenti" , che possono compromettere l'integrità delle condutture e degli apparecchi utilizzatori , ma vanno trattati in maniera completamente diversa : il corto-circuito presuppone un guasto e va interrotto sempre e in tempi brevissimi , perché le correnti in gioco sono tali da produrre effetti termici e meccanici pericolosi quasi istantanei ; il sovraccarico può invece manifestarsi anche in un circuito elettricamente sano ( ad esempio a causa della corrente di spunto di un motore elettrico ) e l'entità degli effetti dannosi sulla conduttura dipende dal tempo per cui la corrente supera la portata Iz della stessa.
Pertanto lo sganciatore magnetico , che apre l'interruttore in caso di corto-circuito , agisce se la corrente supera una determinata soglia Im ( massima corrente ) a prescindere dal tempo per cui questa si presenta ; la sua curva caratteristica di intervento tempo-corrente è quindi una retta orizzontale ( fig. 1 ) e infatti viene anche detto sganciatore di massima corrente a tempo indipendente. Lo sganciatore termico , invece , allo scopo di lasciar passare le sovracorrenti "funzionali" ( dovute cioè al normale funzionamento dell'apparecchiatura elettrica a valle ) e interrompere le sovracorrenti "anomale" ha una curva caratteristica di intervento tempo-corrente di tipo iperbolico e viene infatti detto sganciatore di massima corrente a tempo inverso ( fig. 2 ) . In questo modo le correnti di poco superiori a quella nominale vengono permesse anche per tempi lunghi ( la retta verticale 1,05*In viene detta "corrente di non intervento" perché può essere tollerata per 1 ora nei magnetotermici con In>63A e per oltre 2 ore nei magnetotermici con In<63A ) , mentre le correnti via via crescenti saranno tollerate per tempi via via inferiori . La combinazione di queste due curve costituisce la curva di intervento del magnetotermico.
ciao
mir
0
voti
Grazie mir...
sono andato a leggermi l'articolo 433 della 64-8:
If= corrente che assicura l'effettivo funzionamento del dispositivo di protezione entro il tempo convenzionale in condizioni definite.
Avevi ragione 6367 grazie!!!!
sono andato a leggermi l'articolo 433 della 64-8:
If= corrente che assicura l'effettivo funzionamento del dispositivo di protezione entro il tempo convenzionale in condizioni definite.
Avevi ragione 6367 grazie!!!!
0
voti
Poi può darsi che sia un errore di chi ha scritto il manuale
In effetti, quel "dopo" un'ora non è tanto esatto.
Cosa significa dopo un'ora? un'ora e un secondo? 2 ore, 5 ore, 64 anni ?
Più che errore direi che si tratta di una inesattezza lessicale.
Quel "dopo", va inteso come "dopo, al più tardi,...".
Io, comunque, mi riferisco agli interruttori per uso "domestico e similare", cioé la stragrande maggioranza degli interruttori modulari, conformi alla norma 60898. Sono tutti non regolabili.
Poi vi sono gli interruttori conformi alla 60947-2, di solito scatolati ma non necessariamente. Qui qualcosa cambia. Per esempio èpossono essere regolabili. E quell'1,13 che non hai trovato diventa 1,05. Pure l'intervento istantaneo non è fissato ma lasciato libero per il costruttore che però lo deve dichiarare nella documentazione.
15 messaggi
• Pagina 1 di 2 • 1, 2
Torna a Impianti, sicurezza e quadristica
Chi c’è in linea
Visitano il forum: Nessuno e 81 ospiti

Elettrotecnica e non solo (admin)
Un gatto tra gli elettroni (IsidoroKZ)
Esperienza e simulazioni (g.schgor)
Moleskine di un idraulico (RenzoDF)
Il Blog di ElectroYou (webmaster)
Idee microcontrollate (TardoFreak)
PICcoli grandi PICMicro (Paolino)
Il blog elettrico di carloc (carloc)
DirtEYblooog (dirtydeeds)
Di tutto... un po' (jordan20)
AK47 (lillo)
Esperienze elettroniche (marco438)
Telecomunicazioni musicali (clavicordo)
Automazione ed Elettronica (gustavo)
Direttive per la sicurezza (ErnestoCappelletti)
EYnfo dall'Alaska (mir)
Apriamo il quadro! (attilio)
H7-25 (asdf)
Passione Elettrica (massimob)
Elettroni a spasso (guidob)
Bloguerra (guerra)



