Cos'è ElectroYou | Login Iscriviti

ElectroYou - la comunità dei professionisti del mondo elettrico

19
voti

5-Disegnare con FidoCadJ - Badenia, o Campana Elettrica

La Badenia


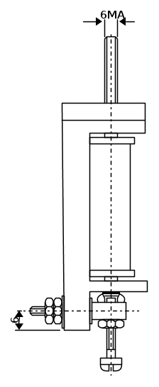
E' un dispositivo elettromeccanico che ripete il principio di funzionamento dei noti campanelli elettrici, con la differenza di riprodurre un suono molto più forte caratteristica per la quale viene utilizzata come ripetitore di chiamata in ambienti rumorosi ed ampi, o comunque in condizioni ambientali particolari, come ad esempio come suoneria telefonica supplementare..

funzionamento


Il suo funzionamento è molto semplice.
Una volta alimentato, l'elettromagnete viene percorso da un'intensità di corrente in quanto il circuito si trova chiuso per via del contatto legato all'ancora mobile quando è a contatto con l'altro fisso ad esso contrapposto; quando l'ancora viene attratta, anche il contatto a questa legato si allontana da quello fisso aprendo così il circuito; in questo modo poi l'ancora tornerà a riposo richiamata dalla lamina elastica a cui è fissata, portando così nuovamente i due contatti a toccarsi tra di loro e chiudere nuovamente il circuito, e ripetersi nuovamente il ciclo appena visto, e così di seguito.

Pertanto si viene così ad ottenere che l'ancora è movimentata da una continua vibrazione e corrispondentemente lo è anche il martelletto solidale con l'ancora che opportunamente regolato andrà a picchiare contro la parete interna della campana realizzando così il suono caratteristico di questi dispositivi.


Riferimenti

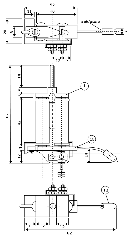
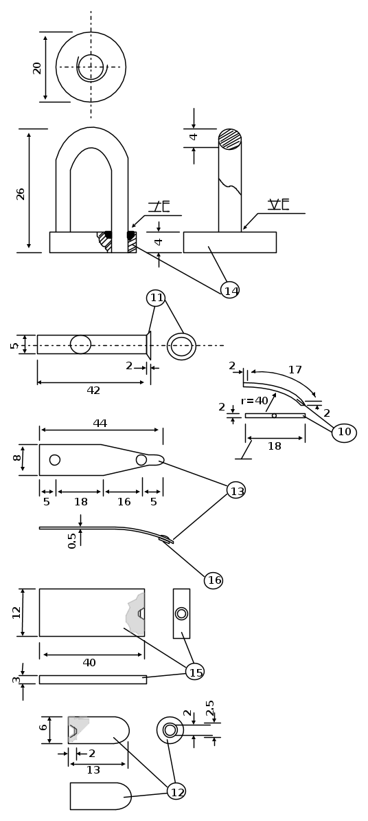
Disegno elettromeccanico
ediz.Sansoni-G.Rago '80

22

Commenti e note

Inserisci un commento

di ,

robby98, credo si aopportuno che posti la domanda nel forum alla sezione "Impianti Elettrici" cosi da avere interventi piu' autorevoli. Comunque per quanto ne so di badenie della urmet ci sono sia con tensione di alimentazione di 12 Vca 50 Hz che 60 Vca 50 Hz, ovviamente dipende dal prodotto ... (2841/1 --2841/2), diverso per le suonerie telefoniche elettromeccaniche supplementari che funzionano con tensione di 26 Vca 20-50 Hz sempre della urmet.

Rispondi

di ,

tensione di funzionamento ????????? un grazie a chi mi risponderà

Rispondi

di ,

Grazie mrc. ;)

Rispondi

di ,

Stupendamente bello e interessante! Bravissimo mir!

Rispondi

di ,

Grazie Guerra, troppo gentile. :)

Rispondi

di ,

Davvero un artista, mir!

Rispondi

di ,

Grazie stefanob70, disegnatore è una parola grande ... diciamo fidocajriproduttore ... :)

Rispondi

di ,

mir ma tu sei un disegnatore nato! incredibile....

Rispondi

di ,

...mmmh..disegno di avvolgimenti,qualcosa dovrei avere, ma la vedo dura,non tanto per il disegno ma per la mia vista ...chissà ... ;)

Rispondi

di ,

Sempre in tema di costruzioni elettromeccaniche ti mancano i disegni degli avvolgimenti, non sò se hai intenzione di cimentarti anche in quello

Rispondi

di ,

Grazie MassimoB.

Rispondi

di ,

Davvero complimenti mir

Rispondi

di ,

Grazie carlomariamanenti,ho ritrovato il vecchio piacere di disegnare e fin che dura ... :),sebago ti ringrazio ed hai ragione i disegni sono possibili grazie al supporto di Fidocadj ad opera di DarwinNE aui va indubbiamente il merito ... ;), grazie asdf,perizia forse, bravura non saprei ... :)

Rispondi

di ,

COMPLIMENTI mir per per l'articolo in sé ma soprattutto per la perizia e la bravura nel realizzare i disegni. Complimenti davvero !

Rispondi

di ,

Perbacco mir, che lavorazzo! Oltre che una notevole abilità con FJ, devi avere una pazienza straordinaria. Un doveroso complimento anche a DarwinNE, che ha reso possibile tutto questo.

Rispondi

di ,

mir, traspare bravura in quello che fai e traspare amore per come lo fai; complimenti, un lavoro da lode!

Rispondi

di ,

Grazie MASSIMO G. ;)

Rispondi

di ,

Bellissimo

Rispondi

di ,

Grazie PietroBaima, troppo gentile... :)

Rispondi

di ,

Logo

Rispondi

di ,

Grazie DarwinNE,non nascondo che questo genere di disegni mi rilassa,poi con Fidocadj non è così complicato ... :)

Rispondi

di ,

Ma che meraviglia!

Rispondi

Inserisci un commento

Per inserire commenti è necessario iscriversi ad ElectroYou. Se sei già iscritto, effettua il login.