Per evitare il verificarsi di condizioni anomale che possano diventare critiche per l'integrità degli impianti elettrici pubblici e privati e pericolose e letali, per quanto riguarda la presenza umana attorno agli impianti stessi, sono stati concepiti dispositivi d'interruzione di corrente, che eliminano appunto pericoli e danni conseguenti ad un comportamento che si allontana da quello nominale.
I pericoli che possono generarsi negli impianti elettrici, per causa di guasti hardware e condizioni ambientali possono identificarsi per la grandezza intensità di corrente elettrica, come sovratensioni, corto circuiti e situazioni di contatti diretti ed indiretti.
Le sovratensioni si generano per qualche guasto all'impianto elettrico o per variazioni non previste di temperatura e creano l'insorgere attraverso i cavi e i dispositivi, di correnti di valore piu' alto del nominale e se non s'interrompesse il funzionamento dell'impianto, per effetto joule potrebbero prodursi riscaldamenti pericolosi, che possono danneggiare i cavi o contribuire all'innesco d'incendi.
I cort0 - circuiti sono invece generati da mancanza di resistività tra due punto del circuito, che vengono a trovarsi allo stesso potenziale, causando l'insorgenza di una corrente che tende all'infinito: conseguenze, degradazione e/o distruzione parziale o totale degli impianti per effetto joule e anche rischio probabile d'incendi. Anche in questo caso debbono agire dei dispositivi che interrompono la corrente quando supera un valore limite di sicurezza. L'ultimo caso e' nei contatti diretti o indiretti. Si dice contatto diretto, quando una persona viene a contatto con un punto che e' alimentato a una giusta tensione pericolosa; indiretto e' un contatto con un punto, che non dovrebbe stare in tensione, ma ci si trova, per una perdita d'isolamento. S'intende per tensione pericolosa una tensione di 50 V in ambienti secchi e 25 V, in quelli umidi per le correnti alternate e 120 V in ambienti secchi e 60 V in quelli umidi, per correnti continue. I limiti in correnti continue sono più alti, rispetto al regime alternato, in quanto le correnti continue sono meno pericolose, per il processo di adattamento delle cellule umane a regimi con valori costanti. In questo caso si fanno intervenire nelle case e in altri luoghi dove sono impianti elettrici, dei dispositivi adatti, che scattano entro un certo tempo massimo di sicurezza, togliendo alimentazione a tutta la circuiteria interessata. I primi due casi sono protetti da dispositivi, detti interruttori magnetotermici, che funzionano in base al valore dei campi magnetici e dalle temperature prodotti dalle correnti, facendo scattare degli elementi di trasduzione, sensibili appunto al campo magnetico ed alle temperature. Nell'ultimo caso, i dispositivi, detti interruttori differenziali, sfruttano il primo principio di Kirchof, dove si enuncia che per condizioni quasi stazionarie elettromagnetiche, (in parole povere per correnti di lunghezza d'onda confrontabili con le dimensioni dei circuiti), il flusso del vettore J di densità di corrente, deve essere nullo attraverso una superficie chiusa, ossia detto più semplicemente, la somma delle correnti che convergono in un punto deve essere nulla. Questo implica conseguentemente che la corrente che parte da un punto di generazione di essa deve essere uguale a quella di ritorno verso il punto di generazione stesso. Infatti, l'interruttore differenziale funziona proprio quando c'e' uno squilibrio tra le correnti di andata e ritorno da e verso un generatore. Tale sbilanciamento infatti provoca un campo magnetico generato dalla differenza non nulla di queste due correnti e che innesca l'azione di un trasduttore - interruttore, che toglie l'alimentazione dell'impianto in considerazione.
Riferimenti principali:
- G.FIGHINI & A. LIBERATORE, Sicurezza degli impianti elettrici, Biblioteca Tecnica Hoepli, Milano 2000.
- Guida tecnica Siemens-Sentron.
Indice |
Come funziona un interruttore differenziale.
Dalla Figura 1, dove e' rappresentato lo schema circuitale di un interruttore differenziale, si può evincere che:
si creano due avvolgimenti agli antipodi su una struttura toroidale magnetica, che hanno il sensi opposti, in modo che le correnti uguali che vi scorrono creino due campi magnetici nel toro che si elidono perché opposti. A 90 gradi da uno dei due precedenti avvolgimenti se ne crea uno nuovo, che ha funzione captante di una eventuale variazione di flusso del vettore H magnetico del toro stesso. I primi due avvolgimenti fanno parte del filo di andata e di ritorno di un utilizzatore posto a valle. Se nell'utilizzatore si crea una dispersione di corrente, ovvero un contatto indesiderato per perdita d' isolamento,le correnti di andata e di ritorno verso la struttura toroidale sono diverse e di conseguenza creano per lo sbilanciamento una tensione nel terzo avvolgimento, che a sua volta, va a comandare un'elettrocalamita, che interrompe il circuito di corrente a monte. Per questo, tale interruttore a volte e' chiamato salvavita, in quanto se una persona tocca una parte di un dispositivo che ha perso l'isolamento elettrico, non riceve più la scossa elettrica, in quanto l'erogazione di energia elettrica viene a cessare. Da cosa e' creato questo sbilanciamento di correnti di andata e ritorno da e verso il generatore? Dall'aggiunta di un nuovo ramo elettrico del circuito costituito dalla causa del contatto (una persona, ad esempio), che fa scaricare a terra la corrente attraverso di essa, chiudendo l'anello sino al punto di generazione. Ma il passaggio di corrente non crea danni, perché l'interruttore scatta subito, poiché e' tarato con un valore di soglia, per la corrente differenziale (quella che scorre nel terzo avvolgimento),che per i casi comuni civili e' pari a 30 mA. Sicuramente la corrente di dispersione eguaglia quella differenziale e questo facilita la progettazione del dispositivo, in quanto s'impone che la tensione di guasto o di contatto sia minore o uguale a 50 Volt per ambienti secchi e 25 Volt, per quelli umidi. Ma questa tensione viene messa in relazione con il prodotto tra la resistenza di terra e la corrente di dispersione, consentendo di progettare resistenze di terre sui Kohm, poi che' la sensibilità' dei differenziali e' bassa. Questo criterio di progetto non va bene invece per magnetotermici, che, per le loro alte correnti d' intervento richiederebbero resistenze di terra di decimi di ohm, che sono difficilmente realizzabili.
Fig. 1b. Schema elettrico di un interruttore differenziale, sensibile anche a correnti pulsanti e protetto contro i disturbi impulsivi.
La figura 2, evidenzia in maniera chiara ciò che succede, durante un contatto indiretto.
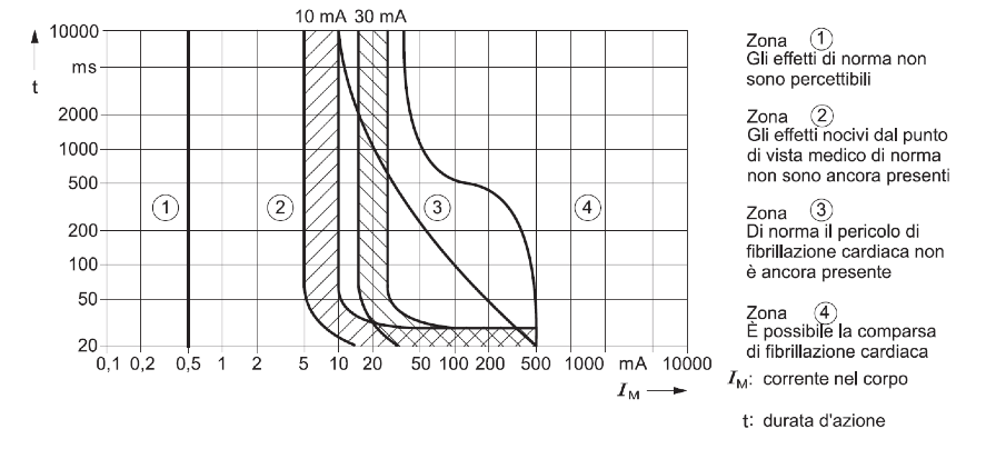
Le zone tempo-corrente d'intervento degli interruttori differenziali sono individuate nella comparazione delle aree di pericolosità' della corrente in Fig. 3.
Normative e parametri di un interruttore differenziale
In precedenza, gli interruttori differenziali erano trattati dalla norma CEI 23/18, che e' stata sostituita da norme europee, uscite sin dal 1994.Le nuove norme comprendono interruttori differenziali anche con presenza di sganciatori, che proteggono gli interruttori differenziali stessi e contro le sovracorrenti. Inoltre di distinguono interruttori differenziali indipendenti dalla tensione di alimentazione e quelli muniti di circuiti amplificatori, che richiedono una propria alimentazione.
Le nuove norme CEI sono le seguenti:
-senza sganciatori CEI 23/42 e 23/43 (EN 61008-1/2 - I)
-con sganciatori, indipendenti dalla tensione di rete CEI 23/44 (EN 61008-1) 3 23/43 (EN 61008-2 - I)
Corrente differenziale 
Somma vettoriale dei valori istantanei della corrente che fluisce nel circuito principale dell'interruttore differenziale.
Corrente differenziale di intervento.
Valore di corrente differenziale che provoca il funzionamento del suddetto interruttore.
Corrente differenziale di non intervento
Il più' alto valore di corrente per il quale il differenziale non funziona ancora.
Sensibilita' a correnti alternate e continue
L'impiego ormai generalizzato di apparecchiature con dispositivi di tipo elettronico sia in ambiente civile che industriale può determinare, in occasione di un guasto di isolamento, correnti di dispersione verso terra con componenti non sempre sinusoidali ma sovente anche del tipo unidirezionale, pulsanti o continue. In situazioni come queste un dispositivo differenziale tradizionale non è sempre idoneo a funzionare correttamente. Tutto questo deriva, perche' la presenza di regimi diversi da quello sinusoidale porta a funzionare il dispositivo in questione verso la zona di saturazione del ciclo d'isteresi, come si evince da Fig. 4.
La soluzione e' quella frequente di costruire nuclei magnetici che presentino caratteristiche meno ripide, in modo da essere meno sensibili alla componente continua, oppure si inserisce un condensatore in serie al circuito, in modo da bloccare la componente continua. In Fig. 5 e' riportato il comportamento di due nuclei magnetici con caratteristiche diverse, di fronte ai vari casi di sollecitazione di corrente.
In relazione alle correnti di dispersione a cui l'interruttore differenziale è sensibile le norme prevedono una classificazione in tre tipi, AC, A, F B e B+.
Tipo AC
Gli interruttori differenziali di Tipo AC sono adatti solo per il rilevamento di correnti di guasto alternate di forma sinusoidale
Tipo A
Gli interruttori differenziali di Tipo A, oltre alle correnti di guasto alternate di forma sinusoidale, rilevano anche correnti di guasto alternate e pulsanti sinusoidali.Questo interruttore differenziale, essendo sensibile anche alle crrenti pulsanti, permette di controllare eventuali correnti diguasto che potrebbero generarsi con l'impiego di utilizzatori aventi dispositivi elettronici.
Tipo F
Gli interruttori differenziali di Tipo F, oltre alle funzionalità del Tipo A, sono realizzati per la protezione di convertitori di frequenza monofase.I tipo F sono stati recentemente introdotti dalla normativa IEC EN 62423, e prevedono rispetto al Tipo Astandard le seguenti caratteristiche:- campo di intervento per correnti di dispersione da 10Hz a 1kHz- ritardo intenzionale all’intervento (10ms)- prova di tenuta all’impulso 3kA- tolleranza alla corrente continua sovrapposta fino a 10mA.
Tipo B
Gli interruttori differenziali di Tipo B, oltre al rilevamento delle forme di corrente di guasto del Tipo F, sono utilizzati anche per il rilevamento di correnti di guasto di tipo continuo. Questa tipologia di interruttore, che è in grado di garantire la protezione anche in presenza di convertitori di frequenza trifase, è impiegabile a protezione di qualsiasi utilizzatore.
Tipo B+
Gli interruttori differenziali di Tipo B+, nascono per garantire un’efficace protezione antincendio. La loro caratteristica d'intervento, conforme alla normativa tedesca VDE V 0664-110,garantisce l’intervento entro la soglia massima di 420 mA percorrenti di dispersione ad alta frequenza (fino a 20kHz).
Schermata 2013-11-09 alle 13.02.41.png
Selettivita' interruttori differenziali.
Anche per gli interruttori differenziali si presenta il problema dellas selettività', oltre a quelli automatici. Si puo' ottenere la selettività' in due modi:
- differenziando le curve d'intervento in funzione della portata, in modo che l'interruttore a monte, di portata superiore, a parità' di corrente differenziale, abbia un tempo d'intervento più' lungo, permettendo così' l'intervento del solo intervento a valle (selettività' verticale).
- inserendo un breve ritardo intenzionale sull'interruttore più' a monte (selettività' orizzontale).
I due tipi di selettività' descritti sono descritti dalla Fig.8
I dati di targa
Gli interruttori differenziali debbono riportare sulla superficie esterna:
- tensione e corrente nominali
- corrente differenziale nominale d'intervento
- potere di chiusura e d'interruzione
- i seguenti simboli
Inoltre il tasto di prova deve essere contrassegnato con la lettera T. Se l'interruttore e' insensibile ai disturbi, deve essere riportato anche il simbolo di una freccia zigzagante rivolta verso il basso-sinistra. Se il dispositivo e' provvisto di uno sganciatore di corrente, deve riportare le relative indicazioni ed il potere di rottura. L'interruttore differenziale riportato in Fig. 9 possiede uno sganciatore di minima corrente. Anche se non si vede, in corrispondenza della sezione di test, vi e' scritto "Premere mensilmente", onde ottenere una buona manutenzione del dispositivo.

Elettrotecnica e non solo (admin)
Un gatto tra gli elettroni (IsidoroKZ)
Esperienza e simulazioni (g.schgor)
Moleskine di un idraulico (RenzoDF)
Il Blog di ElectroYou (webmaster)
Idee microcontrollate (TardoFreak)
PICcoli grandi PICMicro (Paolino)
Il blog elettrico di carloc (carloc)
DirtEYblooog (dirtydeeds)
Di tutto... un po' (jordan20)
AK47 (lillo)
Esperienze elettroniche (marco438)
Telecomunicazioni musicali (clavicordo)
Automazione ed Elettronica (gustavo)
Direttive per la sicurezza (ErnestoCappelletti)
EYnfo dall'Alaska (mir)
Apriamo il quadro! (attilio)
H7-25 (asdf)
Passione Elettrica (massimob)
Elettroni a spasso (guidob)
Bloguerra (guerra)