Buonasera,
vorrei farvi i complimenti per questo forum molto bello.
Vorrei chiedere un' informazione e' possibile invertire la polarita di un motorino da 9 volt in automatico? Cioe' il carrello a cui vorrei applicarlo vorrei farlo uscire e rientrare in automatico poi farlo usire di nuovo praticamente in continuazione e fermarlo quando desidero.Grazie
inversione di polarita'
Moderatori:
SandroCalligaro,
mario_maggi,
fpalone
2
voti
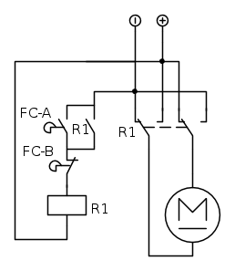
Se non hai esigenze specifiche di controllo puoi fare uno schema semplice con un relè e due finecorsa di posizione.
Quando alimenti il circuito, il motore inizia a girare in un senso prestabilito, quando il finecorsa A è azionato inverte il senso, e lo reinverte ancora azionando il finecorsa B, così fino all'infinito.
O almeno sino a quando non si esaurisce la sorgente di alimentazione.
Quando alimenti il circuito, il motore inizia a girare in un senso prestabilito, quando il finecorsa A è azionato inverte il senso, e lo reinverte ancora azionando il finecorsa B, così fino all'infinito.
O almeno sino a quando non si esaurisce la sorgente di alimentazione.
-

Ivan_Iamoni
5.336 6 10 12 - Utente disattivato per decisione dell'amministrazione proprietaria del sito
- Messaggi: 2330
- Iscritto il: 22 ott 2006, 18:45
0
voti
Aiuto mi sono perso,ma se si muove su un carrello come faccio.io vorrei iniziare facendolo partire con un tastino a levetta e lui parte e si apre poi quando arriva alla fine della corsa ritorna indietro in automatico
-

roberto5879
11 3 - New entry

- Messaggi: 89
- Iscritto il: 28 nov 2011, 17:51
0
voti
Certo, tramite interruttore (come da schema inserito da Ivan) puoi fermare il carrello quando vuoi, ma se non spieghi bene qual è il tuo problema, come si può aiutarti?
Ognuno sta solo sul cuor della terra
trafitto da un raggio di sole:
ed è subito sera
Salvatore Quasimodo
trafitto da un raggio di sole:
ed è subito sera
Salvatore Quasimodo
0
voti
allora avrei bisogno di creare un circuito che mi faccia uscire un piccolo carrello e lo faccia rientrare quando questo arriva a fine corsa in modo da farlo aprire e chiudere in automatico all' infinito quindi pensavo all' inserimento di due microswitch che mi invertono la polarita'...
-

roberto5879
11 3 - New entry

- Messaggi: 89
- Iscritto il: 28 nov 2011, 17:51
0
voti
non so come andare avanti sto cercando in rete ma non trovo niente
-

roberto5879
11 3 - New entry

- Messaggi: 89
- Iscritto il: 28 nov 2011, 17:51
0
voti
roberto5879 ha scritto:Aiuto mi sono perso,ma se si muove su un carrello come faccio.io vorrei iniziare facendolo partire con un tastino a levetta e lui parte e si apre poi quando arriva alla fine della corsa ritorna indietro in automatico
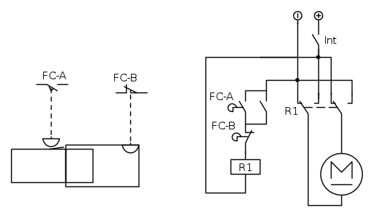
Il disegno impostato da Ivan va bene, sei tu che non capisci il disegno. Ora ti posto il disegno di Invan con l’aggiunta del tastino.
-

StefanoSunda
2.885 3 6 10 - Master

- Messaggi: 1965
- Iscritto il: 16 set 2010, 19:29
-2
voti
buonasera,
io vorrei capire come far muovere il carrello in automatico avanti e in dietro all' infinito non con il tastino perche con il tasto c'e' gia in rete poi vorrei capire anche i valori che devo usare dato che il motore funziona a 9 volt.Grazie.
io vorrei capire come far muovere il carrello in automatico avanti e in dietro all' infinito non con il tastino perche con il tasto c'e' gia in rete poi vorrei capire anche i valori che devo usare dato che il motore funziona a 9 volt.Grazie.
-

roberto5879
11 3 - New entry

- Messaggi: 89
- Iscritto il: 28 nov 2011, 17:51
Chi c’è in linea
Visitano il forum: Nessuno e 11 ospiti

Elettrotecnica e non solo (admin)
Un gatto tra gli elettroni (IsidoroKZ)
Esperienza e simulazioni (g.schgor)
Moleskine di un idraulico (RenzoDF)
Il Blog di ElectroYou (webmaster)
Idee microcontrollate (TardoFreak)
PICcoli grandi PICMicro (Paolino)
Il blog elettrico di carloc (carloc)
DirtEYblooog (dirtydeeds)
Di tutto... un po' (jordan20)
AK47 (lillo)
Esperienze elettroniche (marco438)
Telecomunicazioni musicali (clavicordo)
Automazione ed Elettronica (gustavo)
Direttive per la sicurezza (ErnestoCappelletti)
EYnfo dall'Alaska (mir)
Apriamo il quadro! (attilio)
H7-25 (asdf)
Passione Elettrica (massimob)
Elettroni a spasso (guidob)
Bloguerra (guerra)


