
Induttori allo stato solido ... Formula semplificata ??
Moderatori:
carloc,
g.schgor,
BrunoValente,
IsidoroKZ
0
voti

"Non farei mai parte di un club che accettasse la mia iscrizione" (G. Marx)
-

claudiocedrone
21,3k 4 7 9 - Master EY

- Messaggi: 15303
- Iscritto il: 18 gen 2012, 13:36
0
voti
Kagliostro ha scritto:amplificatori a valvole
Perdonate il carattere semiserio e svogliato del presente intervento, ma secondo me queste magiche parole ci proiettano nel mondo elettronico astrale.
9
voti
Dunque, in attesa del gattone ho provato a fare due conti io, così poi mi può sgridare a ragione
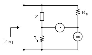
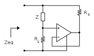
Il circuito semplificato, per il segnale è:
Se considero la gm del MOS come infinita, ottengo questo circuito equivalente:
o se preferite senza nullatori e noratori:
Se ne calcolo la Yeq ottengo:

poiché
ho, con ottima approssimazione che:


Z è il parallelo di R2 e C2, sostituendo si ottiene:

cioè si ha la serie di un induttore e di un resistore di valore:


Le formule postate sembrano quindi giuste e il valore del resistore sembra quindi essere pari a 20 Ohm.
Ma aspettiamo IsiKZ
Il circuito semplificato, per il segnale è:
Se considero la gm del MOS come infinita, ottengo questo circuito equivalente:
o se preferite senza nullatori e noratori:
Se ne calcolo la Yeq ottengo:

poiché
ho, con ottima approssimazione che:

Z è il parallelo di R2 e C2, sostituendo si ottiene:

cioè si ha la serie di un induttore e di un resistore di valore:


Le formule postate sembrano quindi giuste e il valore del resistore sembra quindi essere pari a 20 Ohm.
Ma aspettiamo IsiKZ
-

PietroBaima
90,7k 7 12 13 - G.Master EY

- Messaggi: 12207
- Iscritto il: 12 ago 2012, 1:20
- Località: Londra
0
voti

"Non farei mai parte di un club che accettasse la mia iscrizione" (G. Marx)
-

claudiocedrone
21,3k 4 7 9 - Master EY

- Messaggi: 15303
- Iscritto il: 18 gen 2012, 13:36
0
voti
Grazie per l'impegno, adesso vedo di leggermi con calma i tuoi calcoli
--
Forse ruotando il secondo schemino la somiglianza è più evidente
Non trovi ?
--
Pare che tu conosca solo il mondo degli appassionati dell'HiFi esoterico, ma che sappia invero molto poco del mondo dell'amplificazione a valvole per strumenti musicali, ti assicuro che è un approccio diverso, molto ma molto diverso
Fa conto di pensare Astrologia mentre si parla di astronomia
K
-

Kagliostro
6.401 4 5 7 - Master

- Messaggi: 4832
- Iscritto il: 19 set 2012, 11:32
1
voti

"Non farei mai parte di un club che accettasse la mia iscrizione" (G. Marx)
-

claudiocedrone
21,3k 4 7 9 - Master EY

- Messaggi: 15303
- Iscritto il: 18 gen 2012, 13:36
8
voti
Non ho tempo per una risposta per bene, solo una piccola osservazione
. I conti sono giusti, con le ipotesi fatte, ma il circuito non funziona
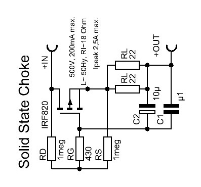
La ragione e` che i conti sono solo di piccolo segnale, mente questo e` un componente, emulato, che dovrebbe immagazzinare energia. E dove la mette? 250 mA attraverso 47H fa quasi 1.5J!
Bisonerebbe fare i conti per vedere se nelle condizioni di utilizzo proposte questo circuito riesce a fare qualcosa di ragionevole.
La ragione e` che i conti sono solo di piccolo segnale, mente questo e` un componente, emulato, che dovrebbe immagazzinare energia. E dove la mette? 250 mA attraverso 47H fa quasi 1.5J!
Bisonerebbe fare i conti per vedere se nelle condizioni di utilizzo proposte questo circuito riesce a fare qualcosa di ragionevole.
Per usare proficuamente un simulatore, bisogna sapere molta più elettronica di lui
Plug it in - it works better!
Il 555 sta all'elettronica come Arduino all'informatica! (entrambi loro malgrado)
Se volete risposte rispondete a tutte le mie domande
Plug it in - it works better!
Il 555 sta all'elettronica come Arduino all'informatica! (entrambi loro malgrado)
Se volete risposte rispondete a tutte le mie domande
0
voti
"Non farei mai parte di un club che accettasse la mia iscrizione" (G. Marx)
-

claudiocedrone
21,3k 4 7 9 - Master EY

- Messaggi: 15303
- Iscritto il: 18 gen 2012, 13:36
0
voti
Se Rs Rg e Rd sono connesse a stella come fanno a essere in serie
in effetti io parlavo di RL - RS - RG, non di RS - RG - RD
In pratica C2 è in parallelo con la serie di resistenze RL + RS + RG
Io la vedo così (ho eliminato C1 ed una delle due RL per rendere più leggibile la cosa)
K
-

Kagliostro
6.401 4 5 7 - Master

- Messaggi: 4832
- Iscritto il: 19 set 2012, 11:32
Chi c’è in linea
Visitano il forum: Nessuno e 60 ospiti

Elettrotecnica e non solo (admin)
Un gatto tra gli elettroni (IsidoroKZ)
Esperienza e simulazioni (g.schgor)
Moleskine di un idraulico (RenzoDF)
Il Blog di ElectroYou (webmaster)
Idee microcontrollate (TardoFreak)
PICcoli grandi PICMicro (Paolino)
Il blog elettrico di carloc (carloc)
DirtEYblooog (dirtydeeds)
Di tutto... un po' (jordan20)
AK47 (lillo)
Esperienze elettroniche (marco438)
Telecomunicazioni musicali (clavicordo)
Automazione ed Elettronica (gustavo)
Direttive per la sicurezza (ErnestoCappelletti)
EYnfo dall'Alaska (mir)
Apriamo il quadro! (attilio)
H7-25 (asdf)
Passione Elettrica (massimob)
Elettroni a spasso (guidob)
Bloguerra (guerra)




pigreco]=π

