Cos'è ElectroYou | Login Iscriviti

ElectroYou - la comunità dei professionisti del mondo elettrico

Trasformazioni stella-triangolo

Circuiti, campi elettromagnetici e teoria delle linee di trasmissione e distribuzione dell’energia elettrica

Moderatori: Foto Utenteg.schgor, Foto UtenteIsidoroKZ

1
voti

[31] Re: Trasformazioni stella-triangolo

Messaggioda Foto UtentePietroBaima » 5 apr 2013, 13:18

Qualunque sia la tensione V_{AB, la tensione ai capi di R_4 è sempre nulla, perché i due partitori formati da R_2R_3 e da R_5R_6 sono uguali.
Quindi si ha che R_4 è sottoposta ad una tensione nulla, pertanto scorre una corrente nulla.
In queste condizioni la resistenza è eliminabile.



Si ottiene la rete:



che si semplifica in:



A questo punto si esegue un equivalente Thevenin a sinistra:



Si ha quindi che:

V_{AB}=E+J\;R_1=10V+2.25\Omega*5A=21.25V

O_/
Pietro.
Generatore codice per articoli:
nomi
Sul forum:
[pigreco]=π
[ohm]=Ω
[quadrato]=²
[cubo]=³
Avatar utente
Foto UtentePietroBaima
90,7k 7 12 13
G.Master EY
G.Master EY
 
Messaggi: 12206
Iscritto il: 12 ago 2012, 1:20
Località: Londra

1
voti

[32] Re: Trasformazioni stella-triangolo

Messaggioda Foto Utenteelectro2013 » 5 apr 2013, 13:24

:O ma come fate??? :( comunque ora cerco di capire i tuoi passaggi

Ps. puoi spiegarmi meglio il fatto che dicevi dei partitori??
Avatar utente
Foto Utenteelectro2013
10 1
New entry
New entry
 
Messaggi: 67
Iscritto il: 23 mar 2013, 13:23

0
voti

[33] Re: Trasformazioni stella-triangolo

Messaggioda Foto UtenteElectro » 5 apr 2013, 13:34

A me piaceva di più così:
"La progettazione, il primo presidio della sicurezza" [Michele Guetta]
Avatar utente
Foto UtenteElectro
2.127 2 2 8
Expert EY
Expert EY
 
Messaggi: 1327
Iscritto il: 12 nov 2008, 11:14
Località: Bari

1
voti

[34] Re: Trasformazioni stella-triangolo

Messaggioda Foto UtentePietroBaima » 5 apr 2013, 13:39

electro2013 ha scritto:Ps. puoi spiegarmi meglio il fatto che dicevi dei partitori??


Intendi per togliere R_4?
Generatore codice per articoli:
nomi
Sul forum:
[pigreco]=π
[ohm]=Ω
[quadrato]=²
[cubo]=³
Avatar utente
Foto UtentePietroBaima
90,7k 7 12 13
G.Master EY
G.Master EY
 
Messaggi: 12206
Iscritto il: 12 ago 2012, 1:20
Località: Londra

0
voti

[35] Re: Trasformazioni stella-triangolo

Messaggioda Foto Utenteelectro2013 » 5 apr 2013, 13:43

esatto pietro! è da dire che sono solo a metà libro ma fin ora non ho mai letto questo trick! dato che a quanto pare è utile per semplificare lo svolgimento degli esercizi se puoi spiegarmelo meglio sarebbe una gran cosa !!
Avatar utente
Foto Utenteelectro2013
10 1
New entry
New entry
 
Messaggi: 67
Iscritto il: 23 mar 2013, 13:23

1
voti

[36] Re: Trasformazioni stella-triangolo

Messaggioda Foto UtentePietroBaima » 5 apr 2013, 13:45

Sì, te lo spiego volentieri... dopo pranzo, tra 15 minuti. :D
Generatore codice per articoli:
nomi
Sul forum:
[pigreco]=π
[ohm]=Ω
[quadrato]=²
[cubo]=³
Avatar utente
Foto UtentePietroBaima
90,7k 7 12 13
G.Master EY
G.Master EY
 
Messaggi: 12206
Iscritto il: 12 ago 2012, 1:20
Località: Londra

0
voti

[37] Re: Trasformazioni stella-triangolo

Messaggioda Foto Utenteelectro2013 » 5 apr 2013, 13:50

PietroBaima ha scritto:Sì, te lo spiego volentieri... dopo pranzo, tra 15 minuti. :D



Quando sei disponibile ! Grazie !! comunque ragà ora vedo entrambi i procedimenti grazie :)
Avatar utente
Foto Utenteelectro2013
10 1
New entry
New entry
 
Messaggi: 67
Iscritto il: 23 mar 2013, 13:23

0
voti

[38] Re: Trasformazioni stella-triangolo

Messaggioda Foto UtentePietroBaima » 5 apr 2013, 15:14

Eccomi.

Allora, quello è un trucco bello, alcune volte è molto utile.

Si basa su di un principio molto semplice: due reti sono equivalenti se hanno le stesse equazioni di Kirchhoff.

Dimostriamo allora che due reti generiche sono equivalenti con e senza una resistenza, a patto che in quest'ultima non scorra corrente.

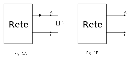
Aiutiamoci con la Fig.1:


Se la rete di Fig.1A è la stessa di Fig.1B, avrà anche lo stesso equivalente Thevenin, così:



Adesso (potevamo farlo anche prima) osserviamo che se la corrente è nulla le due reti avranno le stesse equazioni di Kirchhoff.
La domanda quindi è questa: poiché non possiamo cambiare i valori delle resistenze a nostro piacimento, essendo dei dati assegnati dal problema, esiste qualche caso di Veq o di Req per i quali la corrente si annulla?

La risposta è: o la Veq è nulla, oppure la Req è infinita.

Il fatto che Req sia infinita significa una cosa, in generale, ben nota: se ho una resistenza qualunque in serie ad un circuito aperto, la serie equivale ad un circuito aperto. Nulla di nuovo.

Il fatto che Veq sia nulla significa invece una cosa interessante: se l'equivalente Thevenin del circuito collegato ad R ha una tensione equivalente Vab nulla posso eliminare la resistenza R senza cambiare la rete.

E' esattamente quanto ho utilizzato nel tuo circuito. Riguardiamolo, per curiosità:



togliamo la resistenza e facciamo finta di calcolare la tensione a vuoto, per vedere se è nulla:



Sì, si vede che è nulla subito, perché, quando avremo calcolato la Vab potremo applicare il partitore per trovare la tensione su R3 e su R6.
Essendo le resistenze R2 e R3 uguali la tensione si dimezza, a sinistra.
Essendo le resistenze R5 e R6 uguali la tensione si dimezza, a destra.

Quindi sia a sinistra che a destra ho una tensione pari a Vab/2.
Su R4 la tensione è quindi nulla e quindi posso applicare il trucco.

;-)
Generatore codice per articoli:
nomi
Sul forum:
[pigreco]=π
[ohm]=Ω
[quadrato]=²
[cubo]=³
Avatar utente
Foto UtentePietroBaima
90,7k 7 12 13
G.Master EY
G.Master EY
 
Messaggi: 12206
Iscritto il: 12 ago 2012, 1:20
Località: Londra

Precedente

Torna a Elettrotecnica generale

Chi c’è in linea

Visitano il forum: Nessuno e 91 ospiti