Cos'è ElectroYou | Login Iscriviti

ElectroYou - la comunità dei professionisti del mondo elettrico

Colore cavi per deviatori e neutro fase strano

Circuiti, campi elettromagnetici e teoria delle linee di trasmissione e distribuzione dell’energia elettrica

Moderatori: Foto Utenteg.schgor, Foto UtenteIsidoroKZ

0
voti

[1] Colore cavi per deviatori e neutro fase strano

Messaggioda Foto UtenteValerio5000 » 20 ott 2012, 20:49

Ciao a tutti ragazzi sono appena registrato ma è da molto che vi seguivo perché trovavo sempre le risposte a tutto ;-)

Ho due domande da fare

1) Considerando che ho 3 matasse di cavo blu,marrone e giallo verde per la terra che colore dovrei usare per i deviatori btcino magic ? Mi spiego meglio: considerando che di solito il marrone porta la fase e il blu il neutro nei deviatori il marrone per esempio dovrei metterlo nel foro centrale perché rimane sempre "in tensione" mentre i cavi blu nei fori o sopra o sotto oppure sbaglio tutto e vanno tutti marroni o tutti blu ? Considerate che parliamo di due derivatori che comandano una lampada nel bagno a cui arrivano i classici cavi blu,marrone,terra che però poi la terra si ferma in un morsetto mentre gli altri due stranamente arrivano prima al deviatore più lontano poi arrivano a quello più vicino alla lampada e non so spiegarmi il perché...

2) IN una casa con impianto elettrico degli anni 60 è possibilie che in una comune spina abbia la fase su due cavi ? La stessa cosa addirittura a monte di tutto al contatore elettronico acea vedo i 2 grandi cavi che vengono da fuori poi due cavi blu (ma non docrebbero essere 1 marrone e 1 blu a seconda di fase e neutro ??) e proprio su questi due cavi ho la fase.... Tutto questo lo rilevato con un classico cercafase e infatti so che già questo fa crollare tutto il discorso perché sarebbe meglio usare un elettromisuratore che infatti vorro utilizzare la prossima settimana ma quello che comunque mi suona strano è che su uno dei due cavi il cercafase dovrebbe rimanere spento!... Che dite ?
Ultima modifica di Foto Utentemir il 20 ott 2012, 22:13, modificato 1 volta in totale.
Motivazione: sostituito la "x" con il "per" nel titolo e nel testo ---- linguaggio sms non gradito.
Avatar utente
Foto UtenteValerio5000
0 3
 
Messaggi: 1
Iscritto il: 20 ott 2012, 20:37

0
voti

[2] Re: Colore cavi x deviatori e neutro fase strano

Messaggioda Foto Utentemir » 20 ott 2012, 21:05

Valerio5000 ha scritto: mentre i cavi blu nei fori o sopra o sotto oppure sbaglio tutto e vanno tutti marroni o tutti blu ?

i colori che hai disponibile hanno un loro preciso compito e significato:
-marrone= conduttore di fase,
-blu chiaro= conduttore neutro,
-giallo\verde=conduttore di protezione (terra),
e per nessun motivo il blu chiaro e il giallo\verde possono essere utilizzati a scopi diversi.
nel caso dei deviatori si può dire che al primo deviatore arriva il conduttore di fase (marrone) sul morsetto centrale (in genere) e dagli altri due morsetti partono due conduttore di colore diverso (in genere grigio) per andare sui rispettivi morsetti del successivo deviatore, dal centrale di quest'ultimo partirà il nuovo conduttore di fase verso il punto luce (se lo si vuole riconoscere si può utilizzare il rosso).
Valerio5000 ha scritto: parliamo di 2 derivatori che comandano una lampada nel bagno a cui arrivano i classici cavi blu...

prova a realizzare uno schemino utilizzando fidocadj (trovi le informazioni per fidocadj nella voce Help del menu a tendina in alto).
Valerio5000 ha scritto:IN una casa con impianto elettrico degli anni 60 è possibilie che in una comune spina abbia la fase su due cavi ?

è possibile, ad esempio in alcune zone di Roma la distribuzione è di tipo bifase.
Avatar utente
Foto Utentemir
66,0k 9 12 13
G.Master EY
G.Master EY
 
Messaggi: 21870
Iscritto il: 19 ago 2004, 21:10

0
voti

[3] Re: Colore cavi per deviatori e neutro fase strano

Messaggioda Foto Utenteperotmichel » 21 ott 2012, 15:27


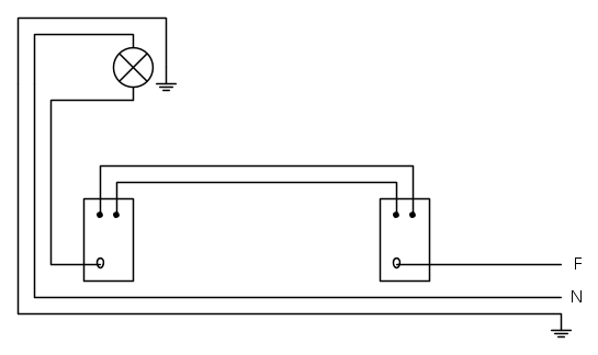
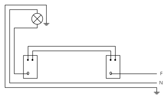
ciao, all'incirca il disegno è questo anche se tecnicamente non esatto ma per intenderci va bene, il fatto che i due fili vadano prima da quello lontano e poi passano da quello vicino non cambia e dipende da chi ha fatto l'impianto, sicuramente perché l'alimentazione arriva prima da quello lontano oppure a volte ci sono dei pilastri percui si tende a non fare le scanalature, se possibile, su di essi. Ma a noi alla fine è solo il fatto che funzioni ciò che interessa. Come dice esattamente Mir i colori hanno un proprio significato e non possono essere scambiati, la funzione del deviatore è proprio quella di "deviare" la tensione in modo tale da permettere accensione o spegnimento da 2 punti, perciò in uno dei 2 fili che mettono in comunicazione i 2 deviatori c'e sempre tensione quindi si deve usare un colore che indichi che è prensente la fase interrotta, cioè marrone, grigio ecc.
siccome hai solamente quel colore, nel far passare i fili, devi segnare i 2 conduttori che collegherai ai morsetti comuni dei deviatori di modo da non confonderli con la fase diretta o con quella che va collegata alla lampada; in ogni caso se sbagliassi non succede niente, molto semplicemente o la luce rimane sempre accesa o sempre spenta al premere il deviatore.
riguardo alla doppia fase è possibile che esistano quei sistemi, l'unica cosa che con il cerca-fase "vedi" quale è la fase invece con il tester, appoggiando i puntali sui morsetti ti indica 230V e basta. con il tester per sapere se un conduttore è fase è necessario puntare su un morsetto e l'altro puntale sulla terra così, se segna 230V allora è la fase e se segna zero è il neutro; nel caso che segnasse per entrambe i morsetti 230V allora sì, si tratta di un sistema bifase.
Avatar utente
Foto Utenteperotmichel
16 3
 
Messaggi: 33
Iscritto il: 15 ott 2012, 15:56

0
voti

[4] Re: Colore cavi per deviatori e neutro fase strano

Messaggioda Foto Utenteattilio » 21 ott 2012, 15:51

Foto Utenteperotmichel ha scritto:con il tester per sapere se un conduttore è fase è necessario puntare su un morsetto e l'altro puntale sulla terra così, se segna 230V allora è la fase e se segna zero è il neutro; nel caso che segnasse per entrambe i morsetti 230V allora sì, si tratta di un sistema bifase

Nella distribuzione trifase 230 V, il valore di tensione è quello concatenato (è per questo che si parla di bifase), difficilmente puoi misurare la tensione concatenata tra un singolo conduttore e la terra, molto più realisticamente misurerai su entrambi i fili (rispetto a un potenziale "zero") una tensione di 127 V (132 V).
Ognuno sta solo sul cuor della terra
trafitto da un raggio di sole:
ed è subito sera


Salvatore Quasimodo
Avatar utente
Foto Utenteattilio
61,5k 8 12 13
free expert
 
Messaggi: 9173
Iscritto il: 21 gen 2007, 14:34

0
voti

[5] Re: Colore cavi per deviatori e neutro fase strano

Messaggioda Foto Utenteperotmichel » 21 ott 2012, 18:19

si è vero, mi sono confuso, scusate #-o
Avatar utente
Foto Utenteperotmichel
16 3
 
Messaggi: 33
Iscritto il: 15 ott 2012, 15:56


Torna a Elettrotecnica generale

Chi c’è in linea

Visitano il forum: Nessuno e 52 ospiti