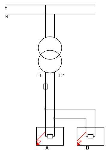
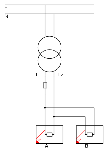
Attilio ha scritto: (...) E' invece importante, che le masse degli utilizzatori alimentati dal trasformatore siano tra loro interconnesse,
in questo modo un eventuale doppio guasto a massa, essendo a tutti gli effetti un cortocircuito, viene aperto dalle protezioni da sovracorrente a valle o a monte del trasformatore stesso.(...)
Grazie
Mi potresti spiegare meglio cosa intendi per masse interconnesse degli utilizzatori? Utilizzando un unico cavo di terra per tutti i dispositivi connessi alla rete elettrica, non dovrebbero già risultare interconnessi tramite questo cavo?
Inoltre mi scrivi:
l'impiego di un trasformatore 1:1 di isolamento ti elimina il riferimento al potenziale di terra
Io pensavo che il riferimento di terra proseguisse anche a valle del trasformatore invece devo tenere separate le due, quella a valle e quella a monte?
Ti prego di correggimi se sbaglio io non sono del settore impiantistico e sicuramente qualche stupidata la dico, vorrei solo capire come rendere, se necessario, più sicuro per me (come utilizzatore) e per il resto dell'impianto elettrico il mio tavolo da lavoro.
In ultimo, allora mi pare di capire che installando un trasformatore d'isolamento se malauguratamente tocco uno dei due poli a valle del trasformatore, mentre sono appoggiato allo chassis di matallo (... che sfiga però!!
Grazie ancora di tutto.
Max
Elettrotecnica e non solo (admin)
Un gatto tra gli elettroni (IsidoroKZ)
Esperienza e simulazioni (g.schgor)
Moleskine di un idraulico (RenzoDF)
Il Blog di ElectroYou (webmaster)
Idee microcontrollate (TardoFreak)
PICcoli grandi PICMicro (Paolino)
Il blog elettrico di carloc (carloc)
DirtEYblooog (dirtydeeds)
Di tutto... un po' (jordan20)
AK47 (lillo)
Esperienze elettroniche (marco438)
Telecomunicazioni musicali (clavicordo)
Automazione ed Elettronica (gustavo)
Direttive per la sicurezza (ErnestoCappelletti)
EYnfo dall'Alaska (mir)
Apriamo il quadro! (attilio)
H7-25 (asdf)
Passione Elettrica (massimob)
Elettroni a spasso (guidob)
Bloguerra (guerra)






