Ricordo di aver visto qualcosa di simile e lo schema che allego l'ho disegnato a memoria
stante che di Stato Solido non ne capisco molto, ho disegnato in modo corretto ? Può funzionare ?
Grazie
K
Zener per diminuire tensione - E' corretto questo schema ?
Moderatori:
carloc,
g.schgor,
BrunoValente,
IsidoroKZ
12 messaggi
• Pagina 1 di 2 • 1, 2
0
voti

"Non farei mai parte di un club che accettasse la mia iscrizione" (G. Marx)
-

claudiocedrone
21,3k 4 7 9 - Master EY

- Messaggi: 15303
- Iscritto il: 18 gen 2012, 13:36
0
voti
Lo schema usa questo principio (vedere la parte che utilizza lo zener invece del semplice resistore)
http://www.aikenamps.com/index.php/what-is-back-biasing
solo che lo zener è "amplificato", per poter usare zener di piccola potenza in sicurezza
ed è lì che non ricordo perfettamente come fosse arrangiato il tutto per quanto riguarda la cosa nel caso di avere un raddrizzatore a ponte anzichè un Full Wave con trasformatore con Presa Centrale
K
http://www.aikenamps.com/index.php/what-is-back-biasing
solo che lo zener è "amplificato", per poter usare zener di piccola potenza in sicurezza
ed è lì che non ricordo perfettamente come fosse arrangiato il tutto per quanto riguarda la cosa nel caso di avere un raddrizzatore a ponte anzichè un Full Wave con trasformatore con Presa Centrale
K
-

Kagliostro
6.396 4 5 7 - Master

- Messaggi: 4832
- Iscritto il: 19 set 2012, 11:32
0
voti

"Non farei mai parte di un club che accettasse la mia iscrizione" (G. Marx)
-

claudiocedrone
21,3k 4 7 9 - Master EY

- Messaggi: 15303
- Iscritto il: 18 gen 2012, 13:36
0
voti
Forse intendevi questo:
Naturalmente puoi mettere un darlington.
Naturalmente puoi mettere un darlington.
marco
0
voti
Ciao
Marco
Per come lo hai disegnato il tuo sta montato in serie al positivo, quello cui mi riferisco è montato tra il negativo del del ponte e la massa
lo schema di riferimento è questo
che sfrutta un trasformatore con presa intermedia, solo che ricordo di aver visto anche un circuito analogo usato con un trasformatore senza presa intermedia, ma non ricordo bene come fossero collegati i componenti, come dicevo, lo schema l'ho ridisegnato a memoria e non vorrei aver toppato
Grazie
K
Per come lo hai disegnato il tuo sta montato in serie al positivo, quello cui mi riferisco è montato tra il negativo del del ponte e la massa
lo schema di riferimento è questo
che sfrutta un trasformatore con presa intermedia, solo che ricordo di aver visto anche un circuito analogo usato con un trasformatore senza presa intermedia, ma non ricordo bene come fossero collegati i componenti, come dicevo, lo schema l'ho ridisegnato a memoria e non vorrei aver toppato
Grazie
K
-

Kagliostro
6.396 4 5 7 - Master

- Messaggi: 4832
- Iscritto il: 19 set 2012, 11:32
0
voti
Si, avevo capito ma non ho mai avuto modo di vedere in passato e/o provare il circuito che hai postato che, comunque, in pratica dovrebbe funzionare.
Se il tuo intento e' quello di ridurre la tensione (per esempio a valori accettabili da un regolatore) la soluzione che ho proposto e' collaudata; magari se esponi piu' chiaramente il problema si puo' anche trovare un altro rimedio.
P.S. Della cosa si era parlato qualche tempo fa sul forum con IsidoroKZ; magari se fai una ricerca con "zener equivalente" trovi qualcosa.
Se il tuo intento e' quello di ridurre la tensione (per esempio a valori accettabili da un regolatore) la soluzione che ho proposto e' collaudata; magari se esponi piu' chiaramente il problema si puo' anche trovare un altro rimedio.
P.S. Della cosa si era parlato qualche tempo fa sul forum con IsidoroKZ; magari se fai una ricerca con "zener equivalente" trovi qualcosa.
marco
0
voti

"Non farei mai parte di un club che accettasse la mia iscrizione" (G. Marx)
-

claudiocedrone
21,3k 4 7 9 - Master EY

- Messaggi: 15303
- Iscritto il: 18 gen 2012, 13:36
0
voti
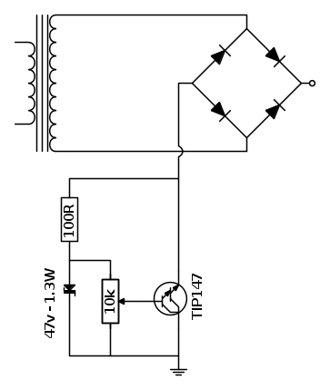
Diciamo che al primo schema manca qualche dettaglio
e che il tutto doveva essere così
Il carico non è altro che un circuito di amplificazione AF a valvole e la tensione non deve essere stabilizzata
anzi se è un poco fluttuante è anche meglio
K
e che il tutto doveva essere così
Il carico non è altro che un circuito di amplificazione AF a valvole e la tensione non deve essere stabilizzata
anzi se è un poco fluttuante è anche meglio
K
-

Kagliostro
6.396 4 5 7 - Master

- Messaggi: 4832
- Iscritto il: 19 set 2012, 11:32
0
voti

"Non farei mai parte di un club che accettasse la mia iscrizione" (G. Marx)
-

claudiocedrone
21,3k 4 7 9 - Master EY

- Messaggi: 15303
- Iscritto il: 18 gen 2012, 13:36
12 messaggi
• Pagina 1 di 2 • 1, 2
Chi c’è in linea
Visitano il forum: Nessuno e 214 ospiti

Elettrotecnica e non solo (admin)
Un gatto tra gli elettroni (IsidoroKZ)
Esperienza e simulazioni (g.schgor)
Moleskine di un idraulico (RenzoDF)
Il Blog di ElectroYou (webmaster)
Idee microcontrollate (TardoFreak)
PICcoli grandi PICMicro (Paolino)
Il blog elettrico di carloc (carloc)
DirtEYblooog (dirtydeeds)
Di tutto... un po' (jordan20)
AK47 (lillo)
Esperienze elettroniche (marco438)
Telecomunicazioni musicali (clavicordo)
Automazione ed Elettronica (gustavo)
Direttive per la sicurezza (ErnestoCappelletti)
EYnfo dall'Alaska (mir)
Apriamo il quadro! (attilio)
H7-25 (asdf)
Passione Elettrica (massimob)
Elettroni a spasso (guidob)
Bloguerra (guerra)




