svolgendo un esercizio mi è sorto un dubbio.
Quando calcolo la resistenza equivalente in un trasformatore ideale (ad esempio devo portare la resistenza da sinistra a destra, essendo a sinistra il primario e a destra il secondario), la suddetta Resistenza equivalente nel secondario sarà in serie o in parallelo? Secondo quale criterio si capisce se la resistenza eq dovrà essere in serie o in parallelo?
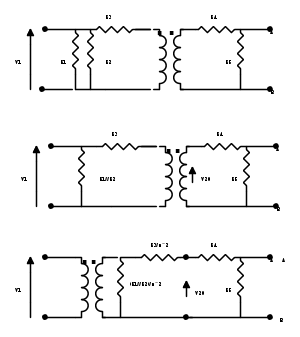
faccio un esempio pratico mettendo il trasformatore.
Io ho calcolato la Req1 della parta sinistra del trasformatore facendo:
,dopodiché, utilizzando la convenzione standard, ho calcolato la resistenza equivalente che vede la parte desta del trasformatore:

il problema è che non capisco come
si pone nei confronti della parte destra del trasformatore, quindi se devo considerarla in serie alla
o in parallelo.un saluto
CB

Elettrotecnica e non solo (admin)
Un gatto tra gli elettroni (IsidoroKZ)
Esperienza e simulazioni (g.schgor)
Moleskine di un idraulico (RenzoDF)
Il Blog di ElectroYou (webmaster)
Idee microcontrollate (TardoFreak)
PICcoli grandi PICMicro (Paolino)
Il blog elettrico di carloc (carloc)
DirtEYblooog (dirtydeeds)
Di tutto... un po' (jordan20)
AK47 (lillo)
Esperienze elettroniche (marco438)
Telecomunicazioni musicali (clavicordo)
Automazione ed Elettronica (gustavo)
Direttive per la sicurezza (ErnestoCappelletti)
EYnfo dall'Alaska (mir)
Apriamo il quadro! (attilio)
H7-25 (asdf)
Passione Elettrica (massimob)
Elettroni a spasso (guidob)
Bloguerra (guerra)


o equivalentemente
) sia sempre la stessa.



