Cos'è ElectroYou | Login Iscriviti

ElectroYou - la comunità dei professionisti del mondo elettrico

Testina per giradischi stereo

hi-fi, luci, suoni, effetti speciali, palcoscenici...

Moderatore: Foto UtenteIsidoroKZ

0
voti

[11] Re: Testina per giradischi stereo

Messaggioda Foto Utenteclaudiocedrone » 10 ott 2016, 0:16

PaoloLiutaio ha scritto: ...Mi sembra però che non spieghi la retrocompatibilità con le testine mono...

:-) Spero di non dire troppe eresie... il solco stereofonico è "composito", un solco "principale" (macrosolco) ulteriormente solcato da un solco "secondario" (microsolco); quello monoaurale è "semplice" , solo macrosolco; riproducendo un disco stereo su un giradischi monofonico la sua puntina "legge" il macrosolco come in disco mono... :roll: almeno è quanto mi pare di ricordare :mrgreen: O_/
"Non farei mai parte di un club che accettasse la mia iscrizione" (G. Marx)
Avatar utente
Foto Utenteclaudiocedrone
21,3k 4 7 9
Master EY
Master EY
 
Messaggi: 15303
Iscritto il: 18 gen 2012, 13:36

0
voti

[12] Re: Testina per giradischi stereo

Messaggioda Foto UtentePaoloLiutaio » 10 ott 2016, 9:35

Non saprei dirlo Foto Utenteclaudiocedrone, ma non ho mai trovato nulla che parlasse di microsolco e macrosolco presenti sullo stesso supporto. Personalmente trovo più sensata la retrocompatibilità fatta con la somma dei canali soprattutto pensando a quanto sarebbe difficile sovraincidere su uno stesso solco un' ulteriore traccia... :D Comunque lo prenderò come uno spunto per indagare ulteriormente! :ok:
Avatar utente
Foto UtentePaoloLiutaio
1.228 2 6 11
Frequentatore
Frequentatore
 
Messaggi: 262
Iscritto il: 24 lug 2015, 16:54

7
voti

[13] Re: Testina per giradischi stereo

Messaggioda Foto Utentemir » 10 ott 2016, 11:58

E' l'occasione di rispolverare un vecchio manualetto, di quando mi interessavo (per lavoro) al settore audio .. :D
... Sul solco del disco in vinile ...
Le due pareti del solco di un disco stereo sono tagliate a 45° rispetto alla perpendicolare.
Ognuna recede o avanza in modo indipendente dall'altra a seconda del suono registrato,portando quella esterna l'informazione del segnaledi destra e quella interna l'informazione del segnale di sinistra.
Quando il segnale in entrambe i canali è uguale ed in fase, il solco si sposta lateralmente, mentre quando sono sfasati si sposta verticalmente.
I due generatori inseriti nel pickup sono montati in modo da rispondere solo ad un piano di movimento della puntina.
La larghezza del solco quindi varia, ma non deve essere minore del valore specificato di 1 mil (25 \mu m ). Anzi in pratica si adotta un valore minimo di 2 mil per evitare i salti da un solco all'altro nei fonografi più economici.
La puntina di incisione, che ha una forma di uno scalpello triangolare,veniva inclinata rispetto alla verticale di 15° negli anni dal 1964 al 1972, e poi in seguito di 20° per uniformarsi allo standard IEC.Era comunque ammessa una tolleranza del +5%.



A causa dell'elasticità del materiale del disco,c'è un fenomeno di ritorno elastico dopo che è passato il fonoincisore. Questo riduce l'angolo dei solchi e ciò assieme alla tolelranza ammessa fa si che l'angolo possa differire notevolmente da un disco ad un altro. Il fonoincisore attraversa il disco tangenzialemente secondo una linea continua che va dal bordo al centro del disco.
La risposta del fonoincisore viene definita a velocità costante, il che significa che la sua velocità è la stessa per tutte le frequenze. Perciò l'ampiezza aumenta mentre la frequenza cala con velocità di 6 db/oct. Ne consegue che a 30 Hz è circa 16 volte maggiore che a 15 kHz.
Le grandi escursioni della puntina a basse frequenze vengono evitate tagliando i bassi mentre gli alti vengono aiutati per migliorare il rapporto segnale -rumore. Questi contorni fuoriescono da una ristretta regione piatta centrata su 1 kHz per formare la caratteristica di registrazione RIIA.
Avatar utente
Foto Utentemir
66,0k 9 12 13
G.Master EY
G.Master EY
 
Messaggi: 21870
Iscritto il: 19 ago 2004, 21:10

2
voti

[14] Re: Testina per giradischi stereo

Messaggioda Foto Utentecarloc » 10 ott 2016, 13:36

...quando dire che due segnali sono ortogonali significava che proprio lo vedevi con la squadretta :roll: :roll:


qui avevo scritto due cavolate sulla lettura di un vinile con una testina disassata :D e prima nello stesso thread altre sciocchezze sui solchi :D
Se ti serve il valore di beta: hai sbagliato il progetto!
Avatar utente
Foto Utentecarloc
33,8k 6 11 13
G.Master EY
G.Master EY
 
Messaggi: 2153
Iscritto il: 7 set 2010, 19:23

2
voti

[15] Re: Testina per giradischi stereo

Messaggioda Foto Utenteibra » 10 ott 2016, 19:07

wow grazie ancora ragazzi, finalmente ho imparato una cosa per me nuova :ok:
Avatar utente
Foto Utenteibra
1.282 3 4 6
CRU - Account cancellato su Richiesta utente
 
Messaggi: 2100
Iscritto il: 15 lug 2015, 0:45

0
voti

[16] Re: Testina per giradischi stereo

Messaggioda Foto Utenteclaudiocedrone » 16 ott 2016, 18:25

PaoloLiutaio ha scritto: ...ma non ho mai trovato nulla che parlasse di microsolco e macrosolco presenti sullo stesso supporto. Personalmente trovo più sensata la retrocompatibilità fatta con la somma dei canali soprattutto pensando a quanto sarebbe difficile sovraincidere su uno stesso solco un' ulteriore traccia...

:-) Ni... :? ... premesso che quanto scritto deriva da ricordi di cose che lessi (non era rintintin, era proprio lessi :mrgreen: ) oltre quarantanni fa quando ancora frequentavo le elementari :-) però dato che le testine mono non erano certo fatte per sommare due tracce (e perché mai ?) e la definizione completa di quei "nuovi" dischi era dischi microsolco stereo monocompatibile... il dubbio mi viene :roll: O_/
"Non farei mai parte di un club che accettasse la mia iscrizione" (G. Marx)
Avatar utente
Foto Utenteclaudiocedrone
21,3k 4 7 9
Master EY
Master EY
 
Messaggi: 15303
Iscritto il: 18 gen 2012, 13:36

5
voti

[17] Re: Testina per giradischi stereo

Messaggioda Foto Utentemir » 16 ott 2016, 21:20

Ancora dal manualetto ..
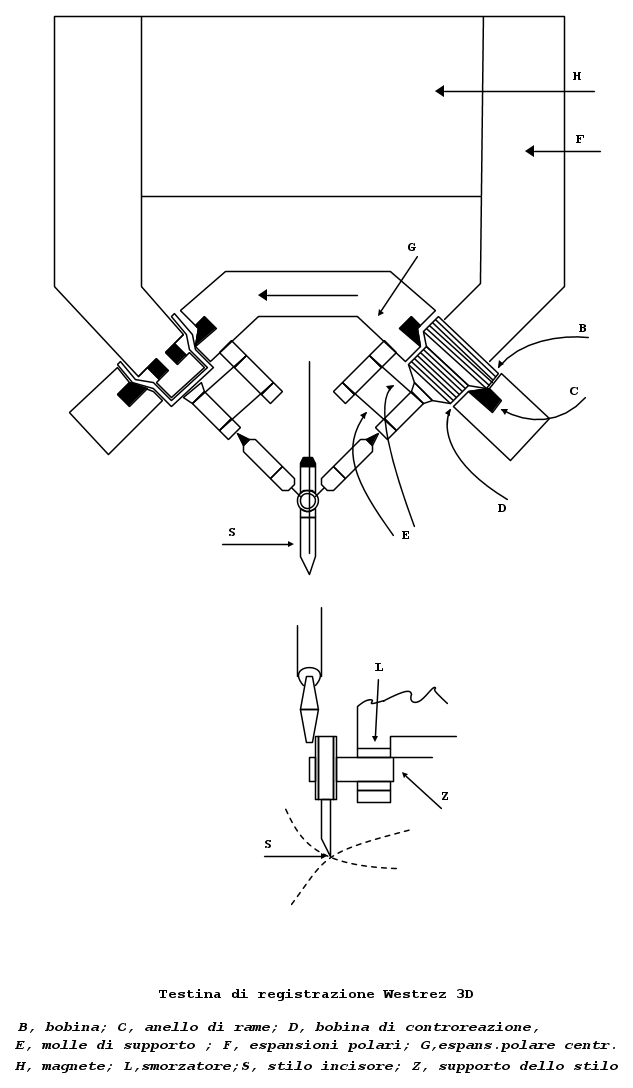
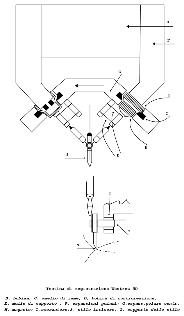
Di seguito in sezione una testina di incisione degli storici dischi stereo in vinile, lo stilo incisore riproduce nel disco un solco triangolare che risulterà con i due lati inclinati e perfettamente lisci se non è applicato alcun segnale alle bobine B.




Con l'applicazione di questo lo stilo oscilla da un lato all'altro producendo l'ondulazione dei due lati rispetto alla curvatura media del solco.
Se los tilo risulta animato da un movimento di traslazione dalla sua posizione di riposo verso ilfianco destro del solco e solo verso questo si avrà una registrazione solo su di esso mentre l'altro resterà liscio. Facendo comiere allo stilo due movimenti indipendenti uno dall'altro, uno nel verso AB e l'altro nel verso BC ogni fianco del solco porta l'incisione dei suoni provenienti dal latosinistro o destro dell segnale captato da due microfoni separati. Durante la registrazione lo stilo si muove secondo la rtisultante dei segnali dei due canali.


Lo stilo è soggetto a spostamenti in un verso o nell'altro secondo il verso delle correnti in una delle bobine B in cui si immagina che le due bobine siano fisse e due nuclei di acciaio magnetizzato filiformi azionino lo stilo. Si ritengono positivi i segnali nelle bobine che fanno attirare i nuclei verso l'alto , negativi quelli che fanno respingere verso il basso. .....
Avatar utente
Foto Utentemir
66,0k 9 12 13
G.Master EY
G.Master EY
 
Messaggi: 21870
Iscritto il: 19 ago 2004, 21:10

0
voti

[18] Re: Testina per giradischi stereo

Messaggioda Foto Utenteclaudiocedrone » 17 ott 2016, 0:28

:-) E di conseguenza la puntina mono segue il "fondo" del solco (quello che prima ho impropriamente nominato macorosolco) che risulta modulato dalla somma dei due canali come un disco mono ? O_/
"Non farei mai parte di un club che accettasse la mia iscrizione" (G. Marx)
Avatar utente
Foto Utenteclaudiocedrone
21,3k 4 7 9
Master EY
Master EY
 
Messaggi: 15303
Iscritto il: 18 gen 2012, 13:36

1
voti

[19] Re: Testina per giradischi stereo

Messaggioda Foto Utenteibra » 17 ott 2016, 19:34

Da quel che ho capito sia qui (e vi ringrazio) che girovagando anche su altri siti che trattano questo tema, la testina compie un movimento bidirezionale, e le due direzioni sono ortogonali tra di loro. Da qui un perfetto isolamento tra i due canali audio, ergo: stereo! :-P
Avatar utente
Foto Utenteibra
1.282 3 4 6
CRU - Account cancellato su Richiesta utente
 
Messaggi: 2100
Iscritto il: 15 lug 2015, 0:45

0
voti

[20] Re: Testina per giradischi stereo

Messaggioda Foto Utenteibra » 17 ott 2016, 19:43

Mentre per quanto riguarda la "lettura" di un disco al vinile stereo da un giradischi con testina mono beh, è facile: quella oscillerà a allo stesso modo ma il coil è posizionato in una sola direzione, ma orizzontale, non a +/- 45°, quindi la somma dei due canali avviene già in modo meccanico e si può dire che i due sistemi (disco o testina, stereo o mono) possono convivere in ogni caso.
;-)
Avatar utente
Foto Utenteibra
1.282 3 4 6
CRU - Account cancellato su Richiesta utente
 
Messaggi: 2100
Iscritto il: 15 lug 2015, 0:45

Precedente

Torna a Elettronica e spettacolo

Chi c’è in linea

Visitano il forum: Nessuno e 6 ospiti