Cos'è ElectroYou | Login Iscriviti

ElectroYou - la comunità dei professionisti del mondo elettrico

Quali spie luminose per temporizzatore a 3 fili

Progettazione, esercizio, manutenzione, sicurezza, leggi, normative...

Moderatori: Foto Utentesebago, Foto UtenteMASSIMO-G, Foto Utentelillo, Foto UtenteMike

0
voti

[1] Quali spie luminose per temporizzatore a 3 fili

Messaggioda Foto Utentealessandro87 » 21 set 2019, 15:03

Buonasera a tutti i membri O_/

Dobbiamo sostituire i vecchi pulsanti con spia integrata relativi alle luci delle scale. Il temporizzatore è a 3 fili.

Per i pulsanti nuovi non ci sono dubbi.

Il dubbio è se è possibile usare le classiche spie led luminose a 230V per poter vedere il pulsante al buio (da quello che ho capito alla spia arriva un neutro a valle della resistenza complessiva delle lampadine delle scale).

Se servono altre info per rispondere chiedetemi pure ovviamente.

Grazie in anticipo a chi mi aiuterà.
Avatar utente
Foto Utentealessandro87
774 2 5 9
Utente disattivato su sua richiesta
 
Messaggi: 652
Iscritto il: 1 gen 2013, 23:38

0
voti

[2] Re: Quali spie luminose per temporizzatore a 3 fili

Messaggioda Foto Utentemir » 21 set 2019, 16:05

alessandro87 ha scritto: Il temporizzatore è a 3 fili. .. Il dubbio è se è possibile usare le classiche spie led luminose a 230V ..

Marca e modello del temporizzatore ?
Nel caso si tratti di un finder, a pag 6 di questo pdf schema Tipo 14.01 14.71 trovi gli schemi interessati. ;-)
Non credo ci siano problemi, se non per il numero massimo possibile da utilizzare, in tal senso occorre vedere le info del costruttore del relè temporizzato.
I circuiti sono controcorrente. Seguono sempre la massa

-Per rispondere utilizza il tasto [RISPONDI] e non il tasto [CITA], grazie.-
Avatar utente
Foto Utentemir
66,0k 9 12 13
G.Master EY
G.Master EY
 
Messaggi: 21870
Iscritto il: 19 ago 2004, 21:10

0
voti

[3] Re: Quali spie luminose per temporizzatore a 3 fili

Messaggioda Foto Utentealessandro87 » 22 set 2019, 14:52

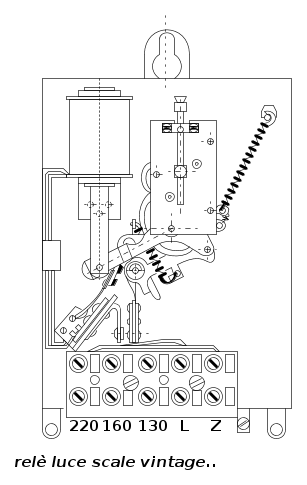
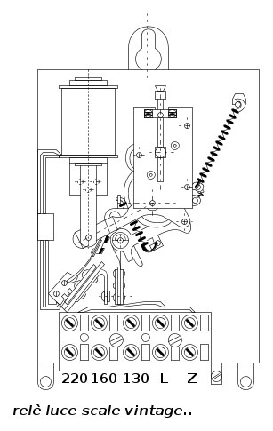
E' un vecchissimo temporizzatore a 3 fili, avrà più di 40 anni. Comunque nel frattempo ci siamo accorti che il pulsante all'esterno del portone, che è stato sostituito pochi anni fa, ha la spia luminosa collegata in parallelo ai 2 fili che vengono dal muro (difatti la spia si spegne quando le luci scale si accendono)
Avatar utente
Foto Utentealessandro87
774 2 5 9
Utente disattivato su sua richiesta
 
Messaggi: 652
Iscritto il: 1 gen 2013, 23:38

2
voti

[4] Re: Quali spie luminose per temporizzatore a 3 fili

Messaggioda Foto Utentemir » 22 set 2019, 17:31

alessandro87 ha scritto:E' un vecchissimo temporizzatore a 3 fili, avrà più di 40 anni.

ahh..ricordo, qualcosa di simile ..

scherzi a parte, :D ho colto l'occasione per rispolverare un po' di FidocadJ, hai visto mai Foto Utenteadmin and Foto UtenteDarwinNE avessero bisogno di consulenza in merito .. :mrgreen: .. si scherza ragazzi, piano con il ban .. :D
alessandro87 ha scritto:ha la spia luminosa collegata in parallelo ai 2 fili

si è uno dei tre modi di collegare la spia nei pulsanti, mi ripeto però nel rammentare di porre attenzione al numero delle spie utilizzate. ;-)
I circuiti sono controcorrente. Seguono sempre la massa

-Per rispondere utilizza il tasto [RISPONDI] e non il tasto [CITA], grazie.-
Avatar utente
Foto Utentemir
66,0k 9 12 13
G.Master EY
G.Master EY
 
Messaggi: 21870
Iscritto il: 19 ago 2004, 21:10


Torna a Impianti, sicurezza e quadristica

Chi c’è in linea

Visitano il forum: Nessuno e 39 ospiti