Opel Astra staccare tubo intercooler
Moderatore:
Franco012
20 messaggi
• Pagina 2 di 2 • 1, 2
0
voti
Gomma, non intesa come caucciù, ma come materiale elastico tipo gomma, anche perché se fosse rigido la fascetta a stringere, non avrebbe senso.
Alex
https://www.facebook.com/Elettronicaeelettrotecnica
<< vedi di pigliare arditamente in mano, il dizionario che ti suona in bocca,
se non altro è schietto e paesano.
(Giuseppe Giusti) <<
https://www.facebook.com/Elettronicaeelettrotecnica
<< vedi di pigliare arditamente in mano, il dizionario che ti suona in bocca,
se non altro è schietto e paesano.
(Giuseppe Giusti) <<
0
voti
Il fatto che la tubazione conduca aria in pressione mi convince che la gomma (e qualsiasi materiale elastico) sia controindicata
La mia auto, ma anche altre che ho visto, sebbene diverse dalla Astra in questione, hanno tutte tubazioni in plastica rigida per condurre aria in pressione all'intercooler
La mia auto, ma anche altre che ho visto, sebbene diverse dalla Astra in questione, hanno tutte tubazioni in plastica rigida per condurre aria in pressione all'intercooler
0
voti
Mha, il tubo che si vede non è certamente di plastica, quella è gomma non ci sono dubbi.
Alex
https://www.facebook.com/Elettronicaeelettrotecnica
<< vedi di pigliare arditamente in mano, il dizionario che ti suona in bocca,
se non altro è schietto e paesano.
(Giuseppe Giusti) <<
https://www.facebook.com/Elettronicaeelettrotecnica
<< vedi di pigliare arditamente in mano, il dizionario che ti suona in bocca,
se non altro è schietto e paesano.
(Giuseppe Giusti) <<
0
voti
Allora,
maxri, dove ti ho indicato con le frecce dovresti avere una scanalatura con, all'interno, una molla a forma, approssimativa, di
.
In pratica devi allontanare le due "alette" dell'
in modo da allentare la molla di tenuta interna al turbo, che, in quest'altra immagine presa dal web, si vede:
Allentando la molla puoi tirare via il tubo: in pratica la molla funziona come una seeger gigante
Max
.In pratica devi allontanare le due "alette" dell'
in modo da allentare la molla di tenuta interna al turbo, che, in quest'altra immagine presa dal web, si vede:Allentando la molla puoi tirare via il tubo: in pratica la molla funziona come una seeger gigante
MaxDisapprovo quello che dite, ma difenderò fino alla morte il vostro diritto di dirlo [attribuita a Voltaire]
La gentilezza dovrebbe diventare lo stile naturale della vita, non l'eccezione [Siddhārtha Gautama]
La gentilezza dovrebbe diventare lo stile naturale della vita, non l'eccezione [Siddhārtha Gautama]
-

Max2433BO
18,6k 4 11 13 - G.Master EY

- Messaggi: 4724
- Iscritto il: 25 set 2013, 16:29
- Località: Universo - Via Lattea - Sistema Solare - Terzo pianeta...
0
voti
setteali ha scritto:quella è gomma non ci sono dubbi.
Neppure io ho dubbi che sia plastica
Ma potrebbe essere gomma rigida
Qualunque materiale sia, non deve cedere rispetto alla pressione dell'aria compressa che alimenta il motore, in caso contrario non farebbe bene il suo compito
0
voti
Ringrazio tutti per i suggerimenti.
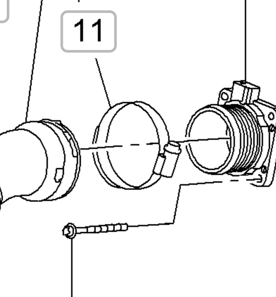
Come si toglie quel tubo rimarrà per me un mistero, sono convinto che bisogna semplicemente tirare molto forte per far scavallare la parte che si incasta nel tubo metallico che ha un bordo rialzato che rende facile inserire il tubo ma difficile toglierlo (si vede abbastanza bene nella figura).
Sono sicuro che non c'è il fermo metallico che diceva
Max2433BO, la parte che si infila e che viene strinta dalla fascetta è abbastanza rigida il tubo comunque è in gomma.
Alla fine io ho risolto smontando il corpo farfallato e lasciando attaccato il tubo, non ho avuto il coraggio di tirare troppo forte... resterò con il dubbio
Come si toglie quel tubo rimarrà per me un mistero, sono convinto che bisogna semplicemente tirare molto forte per far scavallare la parte che si incasta nel tubo metallico che ha un bordo rialzato che rende facile inserire il tubo ma difficile toglierlo (si vede abbastanza bene nella figura).
Sono sicuro che non c'è il fermo metallico che diceva
Alla fine io ho risolto smontando il corpo farfallato e lasciando attaccato il tubo, non ho avuto il coraggio di tirare troppo forte... resterò con il dubbio
0
voti
Se non c'è alcuna molletta metallica e il tubo rimane collegato alla flangia anche senza la fascetta, allora la causa più probabile è che il serraggio della fascetta, assieme agli effetti del calore, abbia fatto "infiltrare" parte della tubazione nelle scanalature presenti sulla flangia del corpo farfallato
Il materiale rigido della tubazione, gomma o plastica che sia, non si dilata a sufficienza per permettere il distacco della tubazione
Se le condizioni della tubazione non sono tali da compromettere la pressione di sovralimentazione, può andare bene come hai fatto
Se, invece, noti qualche sfiato della pressione di sovralimentazione, è meglio che procedi alla sostituzione di tutta la tubazione
Il materiale rigido della tubazione, gomma o plastica che sia, non si dilata a sufficienza per permettere il distacco della tubazione
Se le condizioni della tubazione non sono tali da compromettere la pressione di sovralimentazione, può andare bene come hai fatto
Se, invece, noti qualche sfiato della pressione di sovralimentazione, è meglio che procedi alla sostituzione di tutta la tubazione
0
voti
Ehm... veramente lo ho detto da subito il perché non esce e come fare a farlo uscire, ha ricalcato le scanalature e facendo leva "di piatto" come ho spiegato con qualcosa tipo un coltello "da ristorante"(tutto di metallo, non quelli col manico di plastica che si spezzerebbero subito) si dovrebbe riuscire a scalzarlo senza rovinarlo. Parimenti per reinserirlo poi va lubrificayo magari con una saponetta e la fascetta poi serra il tutto ripristinando la tenuta.
"Non farei mai parte di un club che accettasse la mia iscrizione" (G. Marx)
-

claudiocedrone
21,3k 4 7 9 - Master EY

- Messaggi: 15303
- Iscritto il: 18 gen 2012, 13:36
0
voti
Se ho "usurpato" la spiegazione data precedentemente da altri, non era mia intenzione farlo
Come metodo per agevolare il distacco, io preferirei usare una pistola ad aria calda regolabile per ammorbidire il punto di collegamento con il corpo farfallato
Forzare il distacco con strumenti non adeguati allo scopo potrebbe danneggiare la tubazione oppure il corpo farfallato con spesa sicuramente elevata
Nel caso delle tubazioni dell'impianto di raffreddamento, che sovente rimangono bloccate anche dopo avere rimosso la fascetta quando si vuole rimuoverle, esistono degli attrezzi appositi simili ad un punteruolo con l'estremità fatta a forma di L; tuttavia, in questo caso, la tubazione di raffreddamento è fatta di gomma più morbida rispetto alla tubazione tra intercooler e corpo farfallato
Se una volta che si sia potuto estrarre la tubazione, se la deformazione che ha causato il blocco è permanente (come probabile), non resta che cambiare il pezzo
Come metodo per agevolare il distacco, io preferirei usare una pistola ad aria calda regolabile per ammorbidire il punto di collegamento con il corpo farfallato
Forzare il distacco con strumenti non adeguati allo scopo potrebbe danneggiare la tubazione oppure il corpo farfallato con spesa sicuramente elevata
Nel caso delle tubazioni dell'impianto di raffreddamento, che sovente rimangono bloccate anche dopo avere rimosso la fascetta quando si vuole rimuoverle, esistono degli attrezzi appositi simili ad un punteruolo con l'estremità fatta a forma di L; tuttavia, in questo caso, la tubazione di raffreddamento è fatta di gomma più morbida rispetto alla tubazione tra intercooler e corpo farfallato
Se una volta che si sia potuto estrarre la tubazione, se la deformazione che ha causato il blocco è permanente (come probabile), non resta che cambiare il pezzo
0
voti
"Non farei mai parte di un club che accettasse la mia iscrizione" (G. Marx)
-

claudiocedrone
21,3k 4 7 9 - Master EY

- Messaggi: 15303
- Iscritto il: 18 gen 2012, 13:36
20 messaggi
• Pagina 2 di 2 • 1, 2
Torna a Autovetture, motori endotermici ed elettronica relativa
Chi c’è in linea
Visitano il forum: Nessuno e 13 ospiti

Elettrotecnica e non solo (admin)
Un gatto tra gli elettroni (IsidoroKZ)
Esperienza e simulazioni (g.schgor)
Moleskine di un idraulico (RenzoDF)
Il Blog di ElectroYou (webmaster)
Idee microcontrollate (TardoFreak)
PICcoli grandi PICMicro (Paolino)
Il blog elettrico di carloc (carloc)
DirtEYblooog (dirtydeeds)
Di tutto... un po' (jordan20)
AK47 (lillo)
Esperienze elettroniche (marco438)
Telecomunicazioni musicali (clavicordo)
Automazione ed Elettronica (gustavo)
Direttive per la sicurezza (ErnestoCappelletti)
EYnfo dall'Alaska (mir)
Apriamo il quadro! (attilio)
H7-25 (asdf)
Passione Elettrica (massimob)
Elettroni a spasso (guidob)
Bloguerra (guerra)



