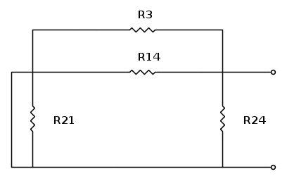
Buonasera, mi direste se ho individuato correttamente la resistenza equivalente di questa rete?
Risolvo il triangolo nella stella equivalente:
è corretto? vi ringrazio.
resistenza equivalente
Moderatori:
g.schgor,
IsidoroKZ
8 messaggi
• Pagina 1 di 1
0
voti
andres90 ha scritto:Risolvo il triangolo nella stella equivalente:
poi però fai il contrario
comunque si, sembra esatto.
0
voti
non hai sbagliato, ma potevi evitare la trasformazione:
![R_{\text{eq}}=R_3||[(R_1||R_2)+R_4] R_{\text{eq}}=R_3||[(R_1||R_2)+R_4]](/forum/latexrender/pictures/337778c27b9e1752268916c61d38b3d9.png)
![R_{\text{eq}}=R_3||[(R_1||R_2)+R_4] R_{\text{eq}}=R_3||[(R_1||R_2)+R_4]](/forum/latexrender/pictures/337778c27b9e1752268916c61d38b3d9.png)
0
voti

"Non farei mai parte di un club che accettasse la mia iscrizione" (G. Marx)
-

claudiocedrone
21,3k 4 7 9 - Master EY

- Messaggi: 15299
- Iscritto il: 18 gen 2012, 13:36
8 messaggi
• Pagina 1 di 1
Torna a Elettrotecnica generale
Chi c’è in linea
Visitano il forum: Nessuno e 29 ospiti

Elettrotecnica e non solo (admin)
Un gatto tra gli elettroni (IsidoroKZ)
Esperienza e simulazioni (g.schgor)
Moleskine di un idraulico (RenzoDF)
Il Blog di ElectroYou (webmaster)
Idee microcontrollate (TardoFreak)
PICcoli grandi PICMicro (Paolino)
Il blog elettrico di carloc (carloc)
DirtEYblooog (dirtydeeds)
Di tutto... un po' (jordan20)
AK47 (lillo)
Esperienze elettroniche (marco438)
Telecomunicazioni musicali (clavicordo)
Automazione ed Elettronica (gustavo)
Direttive per la sicurezza (ErnestoCappelletti)
EYnfo dall'Alaska (mir)
Apriamo il quadro! (attilio)
H7-25 (asdf)
Passione Elettrica (massimob)
Elettroni a spasso (guidob)
Bloguerra (guerra)







beh, grazie anche stavolta per la dritta 