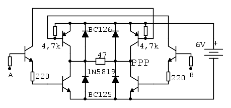
Abbiamo un ponte H autocostruito:
I comandi A e B provengono rispettivamente da pin H ed L del modulo PWM di un micro alimentato a 3,3V con duty 50% e dead time 2 µS.
Volevo verificare che i finali saturassero quindi ho messo la sonda dell'oscilloscopio nel nodo indicato con PPP e il coccodrillo di massa al negativo della batteria. Viene questo oscillogramma:
vi è una piccola caduta di tensione quindi il finale NPN sul lato basso satura correttamente.
Per verificare allo stesso modo la saturazione del finale PNP sul lato alto, ho semplicemente spostato il coccodrillo dal negativo al positivo della batteria. Viene questo oscillogramma:
Sembra che la caduta di tensione sia rovesciata! E' come se il collettore andasse lievemente positivo rispetto alla batteria, è diventato forse un generatore? Ho tentato di incolpare l'oscilloscopio ma non ci siamo. Sicuramente sbaglio qualcosa.
Ponte H con mistero
8 messaggi
• Pagina 1 di 1
0
voti
Non ti serve cambiare il riferimento con l'oscilloscopio.
Le tensioni VCE(sat) e VEC(sat) (rispettivamente NPN e PNP) si vedono già dalla prima immagine (livello basso per l'NPN, alto per il PNP).
Ho cercato i datasheet ma non riesco a trovarli..
Le tensioni VCE(sat) e VEC(sat) (rispettivamente NPN e PNP) si vedono già dalla prima immagine (livello basso per l'NPN, alto per il PNP).
Ho cercato i datasheet ma non riesco a trovarli..
0
voti
qui abbiamo il coccodrillo sul negativo, la traccia gialla sul nodo PPP e la traccia azzurra sul positivo della batteria.
Pare proprio che PPP salga oltre la tensione della batteria, il mistero si infittisce.
Però scambiando le sonde la situazione si normalizza in parte. Boh, sarà colpa dell'oscilloscopio.
0
voti
EcoTan ha scritto:qui abbiamo il coccodrillo sul negativo, la traccia gialla sul nodo PPP e la traccia azzurra sul positivo della batteria.
Non mi sembrano esistere misteri : se porti il riferimento (triangolino in basso a sn) della traccia blu sulla base inferiore della gialla hai esattamente il punto PPP che per metà periodo assume il potenziale +6V rispetto a dove hai posizionato il coccodrillo (- della batteria) e per l'altra metà allo stesso potenziale del coccodrillo cioè 0V.
A meno delle cadute Vce sui transistor.
La traccia blu è fissa con ampiezza 6V mentre la traccia gialla ha ampiezza picco-picco uguale alla tensione di batteria con forma d'onda quadra. Prova a mettere la sonda ai capi della resistenza da 47 Ohm (collettori dei due transistor di ogni gamba del ponte)....cosa dovresti vedere?
0
voti
gvee ha scritto:Hai provato a fare la misura in steady state, quindi PNP sempre on?
Facendo questa prova la Vce di saturazione del transistor PNP appare verosimile, scambiando le sonde appare pari a zero ma comunque non diventa mai di polarità opposta rispetto al normale.
gvee ha scritto:Infatti, sembra che i riferimenti di misura non coincidono.
invece i triangolini sullo schermo coincidono, insomma l'oscilloscopio qualche pasticcio lo fa.
0
voti
gvee ha scritto:Ho cercato i datasheet ma non riesco a trovarli..
@
Se ti può essere ancora utile, ti ho trovato questo databook della Fairchild: a pag. 118 ci sono i dati relativi al BC125 e 126.
MaxDisapprovo quello che dite, ma difenderò fino alla morte il vostro diritto di dirlo [attribuita a Voltaire]
La gentilezza dovrebbe diventare lo stile naturale della vita, non l'eccezione [Siddhārtha Gautama]
La gentilezza dovrebbe diventare lo stile naturale della vita, non l'eccezione [Siddhārtha Gautama]
-

Max2433BO
18,6k 4 11 13 - G.Master EY

- Messaggi: 4724
- Iscritto il: 25 set 2013, 16:29
- Località: Universo - Via Lattea - Sistema Solare - Terzo pianeta...
8 messaggi
• Pagina 1 di 1
Torna a Costruzione, riparazione, riutilizzo
Chi c’è in linea
Visitano il forum: Nessuno e 21 ospiti

Elettrotecnica e non solo (admin)
Un gatto tra gli elettroni (IsidoroKZ)
Esperienza e simulazioni (g.schgor)
Moleskine di un idraulico (RenzoDF)
Il Blog di ElectroYou (webmaster)
Idee microcontrollate (TardoFreak)
PICcoli grandi PICMicro (Paolino)
Il blog elettrico di carloc (carloc)
DirtEYblooog (dirtydeeds)
Di tutto... un po' (jordan20)
AK47 (lillo)
Esperienze elettroniche (marco438)
Telecomunicazioni musicali (clavicordo)
Automazione ed Elettronica (gustavo)
Direttive per la sicurezza (ErnestoCappelletti)
EYnfo dall'Alaska (mir)
Apriamo il quadro! (attilio)
H7-25 (asdf)
Passione Elettrica (massimob)
Elettroni a spasso (guidob)
Bloguerra (guerra)





