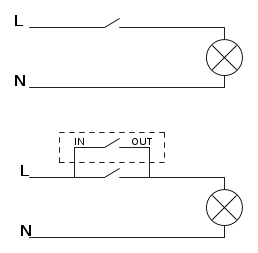
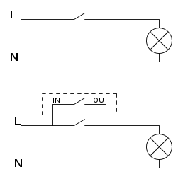
maframan ha scritto:quello che va da out alla lampata è il ritorno del carico ossia il filo interrotto su cui agisce l'interruttore quindi quando l'interruttore è ON passa la fase e non il neutro. Ripeto, gli interruttori livolo wireless li ho montati ed ho dovuto collegare solo la fase.
Hai semplicemente aggiunto un interruttore in parallelo, quindi non c'è nessun bisogno del neutro di ritorno perché quello c'è già dalla lampada al contatore.
E' consigliabile utilizzare FidocadJ per postare schemi/disegni,in modo da consentire interventi anche su eventuali schemi/disegni, oltre ad avere schemi/disegni più chiari. Grazie. Per quanto concerne le immagini si postano in formato jpg max 480x640, ed utilizzando la funzione "Invia allegato" in basso alla casella rispondi. edit

Elettrotecnica e non solo (admin)
Un gatto tra gli elettroni (IsidoroKZ)
Esperienza e simulazioni (g.schgor)
Moleskine di un idraulico (RenzoDF)
Il Blog di ElectroYou (webmaster)
Idee microcontrollate (TardoFreak)
PICcoli grandi PICMicro (Paolino)
Il blog elettrico di carloc (carloc)
DirtEYblooog (dirtydeeds)
Di tutto... un po' (jordan20)
AK47 (lillo)
Esperienze elettroniche (marco438)
Telecomunicazioni musicali (clavicordo)
Automazione ed Elettronica (gustavo)
Direttive per la sicurezza (ErnestoCappelletti)
EYnfo dall'Alaska (mir)
Apriamo il quadro! (attilio)
H7-25 (asdf)
Passione Elettrica (massimob)
Elettroni a spasso (guidob)
Bloguerra (guerra)





