Salve a tutti, sono nuovo. Premetto che di elettronica sto a digiunissimo e quindi mi rivolgo a voi.
Dunque, un disco piezoelettrico (http://img.alibaba.com/photo/585679314/FT_20T_6_8E_piezo_disc_piezoelectric_ceramic_buzzers.jpg) ha la particolarità di produrre corrente se deformato (ad esempio picchiettandoci sopra con un dito).
Il mio obbiettivo è di incanalare la corrente generata in un transistor per farlo funzionare da interruttore.
Ora, io ho fatto una prova grossolana con un Tip31 e funziona, il problema è che devo picchiettare in modo troppo forte sul piezo per generare abbastanza corrente.
La mia domanda è: quale transistor è abbastanza sensibile da chiudersi al minimo tocco sul piezo? Tenete presente che la corrente generata arriva appena a far lampeggiare un singolo led.
Grazie a tutti in anticipo!
Trasformare un disco piezoelettrico in un interruttore
Moderatori:
carloc,
g.schgor,
BrunoValente,
IsidoroKZ
38 messaggi
• Pagina 1 di 4 • 1, 2, 3, 4
0
voti
Perche' non ci fai vedere (con uno schema in FidoCadJ) come hai configurato il tuo circuito?
Possiamo poi vedere come modificarlo e/o con cosa sostituire il transistor.
Possiamo poi vedere come modificarlo e/o con cosa sostituire il transistor.
marco
0
voti
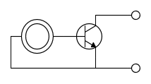
Ciao! Ho provato a fare un circuito con quel programma. Ripeto, di elettronica sto a zero e potrei aver fatto confusione.
- Allegati
-
schema.zip- (248 Byte) Scaricato 344 volte
0
voti
Quando si richiede uno schema in FidoCadJ lo si fa per poter poi intervenire su di esso ed apportare le necessarie modifiche o correzioni; se lo posti come file zip, cio' non e' piu' possibile e costringe chi ti vuole aiutare e gli altri utenti che leggono soltanto a scaricare il file, decomprimerlo e poi cancellarlo dal computer con le conseguenti perdite di tempo.
Ti consiglio di leggere le regole del forum e di postare gli schemi di conseguenza.
Ti consiglio di leggere le regole del forum e di postare gli schemi di conseguenza.
marco
0
voti
Salve
Drumbass,a quanto giustamente indicato da
marco438, mi permetto di aggiungere per quanto riguarda l'utilizzo di fidocadj ti consiglio la lettura di quest'articolo by
elettrodomus ..
poi per questa volta un po' di tempo lo perdo postando lo schema che hai realizzato e postato in zip ...
poi per questa volta un po' di tempo lo perdo postando lo schema che hai realizzato e postato in zip ...
1
voti
Ciao
Drumbass,
hai bisogno di un guadagno in corrente elevato ! (hfe)
Devi usare un darlington.
Se stai usando un TIP puoi mettere un TIP120 oppure BDX53C
Se vuoi un darlington con case in TO92 usa il BC517.
Ciao
Giorgio
hai bisogno di un guadagno in corrente elevato ! (hfe)
Devi usare un darlington.
Se stai usando un TIP puoi mettere un TIP120 oppure BDX53C
Se vuoi un darlington con case in TO92 usa il BC517.
Ciao
Giorgio
-

giorgio25760
2.310 1 3 5 - G.Master EY

- Messaggi: 1700
- Iscritto il: 6 dic 2009, 17:02
- Località: Brescia
0
voti
Scusa la curiosità, devi farci una cosa come questa ?
http://www.chicagofretworks.com/2008/06/17/a-different-kind-of-stompbox/
K
http://www.chicagofretworks.com/2008/06/17/a-different-kind-of-stompbox/
K
-

Kagliostro
6.396 4 5 7 - Master

- Messaggi: 4830
- Iscritto il: 19 set 2012, 11:32
0
voti
Salve ragazzi!
Wow, quante risposte! Scusate se ho sbagliato a postare il file. Ingenuamente non pensavo proprio ci fosse un sistema interno al forum per farlo..
Kagliostro, no non devo farci quello
Grazie delle dritte ma.. Non so minimamente come collegare il tutto! E' forse questo lo schema? http://hades.mech.northwestern.edu/images/0/03/Darlington_pairs.gif
Sarebbe??
Scusate ragazzi, come gia detto sto proprio a zero. Cerco di seguirvi come meglio posso..
Grazie 1000 a tutti!
Wow, quante risposte! Scusate se ho sbagliato a postare il file. Ingenuamente non pensavo proprio ci fosse un sistema interno al forum per farlo..
Kagliostro, no non devo farci quello
giorgio25760 ha scritto:CiaoDrumbass,
hai bisogno di un guadagno in corrente elevato ! (hfe)
Devi usare un darlington.
Se stai usando....................................Ciao
Giorgio
Grazie delle dritte ma.. Non so minimamente come collegare il tutto! E' forse questo lo schema? http://hades.mech.northwestern.edu/images/0/03/Darlington_pairs.gif
Candy ha scritto:Dovresti, come minimo, realizzare un piccolo amplificatore in classe A, anche per annullare la tensione minima di polarizzazione del transistor.
Sarebbe??
Scusate ragazzi, come gia detto sto proprio a zero. Cerco di seguirvi come meglio posso..
Grazie 1000 a tutti!
0
voti
Drumbass ha scritto:ha la particolarità di produrre corrente se deformato (ad esempio picchiettandoci sopra con un dito).
CIao,
i dischi piezolelettrici (o meglio, i meteriali piezoelettrici), non generano una corrente ma una tensione quando deformati. Con il singolo transistor devi picchiettare forte perché devi far superare alla tensione generata la soglia base-emettitore de componente, diciamo di circa 0,6V.
Se vuoi una maggiore sensibilità la strada giusta è quindi quella proposta da
Per buttarti giù uno schema mi servono alcune informazioni:
1- Se ho capito bene vuoi che ad ogni "tocco" sul piezo un interruttore si chiuda. Ma per quanto tempo? vuoi che resti chiuso per un minimo o ti basta l'impulso di chiusura dato dal tocco?
2- Con l'interruttore che ci devi accendere?
ciao
Obi
_______________________________________________________
Gli oscillatori non oscillano mai, gli amplificatori invece sempre
Io HO i poteri della supermucca, e ne vado fiero!
Gli oscillatori non oscillano mai, gli amplificatori invece sempre
Io HO i poteri della supermucca, e ne vado fiero!
38 messaggi
• Pagina 1 di 4 • 1, 2, 3, 4
Chi c’è in linea
Visitano il forum: Nessuno e 31 ospiti

Elettrotecnica e non solo (admin)
Un gatto tra gli elettroni (IsidoroKZ)
Esperienza e simulazioni (g.schgor)
Moleskine di un idraulico (RenzoDF)
Il Blog di ElectroYou (webmaster)
Idee microcontrollate (TardoFreak)
PICcoli grandi PICMicro (Paolino)
Il blog elettrico di carloc (carloc)
DirtEYblooog (dirtydeeds)
Di tutto... un po' (jordan20)
AK47 (lillo)
Esperienze elettroniche (marco438)
Telecomunicazioni musicali (clavicordo)
Automazione ed Elettronica (gustavo)
Direttive per la sicurezza (ErnestoCappelletti)
EYnfo dall'Alaska (mir)
Apriamo il quadro! (attilio)
H7-25 (asdf)
Passione Elettrica (massimob)
Elettroni a spasso (guidob)
Bloguerra (guerra)




