Salve a tutti premetto di non essere un esperto nel compo elettrico e per questo motivo mi sono iscritto a questo forum, vorrei porvi un problema elettrico e sapere se con il vostro aiuto posso risolverlo senza chiamare un professionista:
Dunque il mio problema è questo:
In camera da letto ho due applique comandate da due interruttori posti in due differenti scatole una vicino alla porta che chiamerò A e una più dentro alla stanza che chiamerò B,nell'interruttore A ci sono tre fili due bianchi e uno nero nell'interruttore B ci sono due fili grigi entrambi gli interruttori A e B quando vengono azionati accendono entrambe le lampade io invece vorrei che interruttore A accenda solo la lampada A e l' interruttore B accenda solo la lampada B per fare questo devo solo posizionare i fili che ho citato prima in maniera diversa oppure mi servono dei componenti aggiuntivi (in altri topic simili al mio ho letto di deviatori finder)in questo caso come dovrei collegare i fili nei componenti aggiuntivi e se non è troppo complicato posso fare in modo che l'interruttore A accenda A e anche B altrimenti mi va bene anche solo A con A e B con B.
In attesa
grazie anticipato per i vostri interventi
Come rendere indipendenti due lampade
Moderatori:
sebago,
MASSIMO-G,
lillo,
Mike
15 messaggi
• Pagina 1 di 2 • 1, 2
0
voti
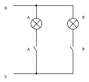
Premesso che non sono un tecnico del settore, presumo che con un interruttore ed un deviatore potresti risolvere il tuo problema secondo il seguente schema di collegamento:
L'interruttore A e il deviatore B sono in posizione di riposo:
- se chiudo solo A, si accende sia la lampada A che la B, viceversa se commuto solo B si accende solo la B
- se commuto B, ed A è già chiuso non cambia nulla (le lampade A e B sono già accese), se non un breve istante, pari al tempo di commutazione di B, in cui la lampada B si spegnerà per poi riaccendersi.
- se B è commutato e apro l'interruttore A, si spegne la lampada A ma rimane accesa B finché non riporto in posizione di riposo il deviatore B.
... comunque ti consiglio di attendere risposte da persone del ramo sicuramente più competenti del sottoscritto.
Max
L'interruttore A e il deviatore B sono in posizione di riposo:
- se chiudo solo A, si accende sia la lampada A che la B, viceversa se commuto solo B si accende solo la B
- se commuto B, ed A è già chiuso non cambia nulla (le lampade A e B sono già accese), se non un breve istante, pari al tempo di commutazione di B, in cui la lampada B si spegnerà per poi riaccendersi.
- se B è commutato e apro l'interruttore A, si spegne la lampada A ma rimane accesa B finché non riporto in posizione di riposo il deviatore B.
... comunque ti consiglio di attendere risposte da persone del ramo sicuramente più competenti del sottoscritto.
MaxDisapprovo quello che dite, ma difenderò fino alla morte il vostro diritto di dirlo [attribuita a Voltaire]
La gentilezza dovrebbe diventare lo stile naturale della vita, non l'eccezione [Siddhārtha Gautama]
La gentilezza dovrebbe diventare lo stile naturale della vita, non l'eccezione [Siddhārtha Gautama]
-

Max2433BO
18,6k 4 11 13 - G.Master EY

- Messaggi: 4724
- Iscritto il: 25 set 2013, 16:29
- Località: Universo - Via Lattea - Sistema Solare - Terzo pianeta...
0
voti
concordo pure io quanto detto con
Max2433BO anche se però non vedo l'utilità di una cosa così.
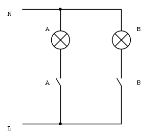
Io preferirei una cosa normale con A che accende a e B che accende b come questo:
Comunque senti anche il parere di altri
Io preferirei una cosa normale con A che accende a e B che accende b come questo:
Comunque senti anche il parere di altri

Il futuro appartiene a coloro che credono nella bellezza dei propri sogni.
Formule LaTeX
Uso di LaTeX sul forum
⋮ƎlectroYou
Formule LaTeX
Uso di LaTeX sul forum
⋮ƎlectroYou
0
voti
Grazie max e wall87 dunque dalle vs risposte mi sembra di capire che così com'è l'impianto non posso fare nulla ma ho bisogno di un deviatore,potreste gentilmente dirmi quale modello devo chiedere perché come ho già detto sono neofita per cui avrei bisogno che mi spiegaste in modo molto elementare i passaggi per risolvere il mio problema elettrico 
-

doppiomalto
0 3 - Messaggi: 8
- Iscritto il: 15 nov 2015, 0:15
0
voti
se vuoi accendere singolarmente le due lampade, non ti serve niente che non hai già
se in uno dei due "interruttori" hai solo due fili, vuol dire che attualmente il circuito non è una deviata ma un accrocco di due interruttori (o un interruttore e un deviatore) collegati in parallelo
dovrebbe infatti non essere attualmente possibile accendere da A e spegnere da B o viceversa, mentre per come immagino fatti i collegamenti, se accendi da A (senza toccare B) puoi spegnere solo da A (e lo stesso con B)
l'unica cosa che devi fare è togliere tensione a tutto l'impianto e cercare la cassetta (portafrutto o di derivazione) da cui provengono i fili che arrivano alle due applique
ad ogni applique devono arrivare due fili (di cui si spera che uno sia azzurro) oltre l'eventuale filo giallo/verde di terra
a questo punto, devi solo trovare il filo (ci sarà una giunzione da qualche parte) che collega le lampade agli interruttori esistenti
questo filo dovrà collegare il singolo interruttore alla lampada che esso deve comandare, quindi mal che vada, ti rimane solo da far passare un secondo filo, da uno dei due interruttori ad una delle due lampade
se mi dici esattamente [o se non ti viene difficile fai una foto] quanti morsetti (conta le viti) hanno i due "interruttori", posso abbozzare un disegnino dell'attuale e delle modifiche da fare
se in uno dei due "interruttori" hai solo due fili, vuol dire che attualmente il circuito non è una deviata ma un accrocco di due interruttori (o un interruttore e un deviatore) collegati in parallelo
dovrebbe infatti non essere attualmente possibile accendere da A e spegnere da B o viceversa, mentre per come immagino fatti i collegamenti, se accendi da A (senza toccare B) puoi spegnere solo da A (e lo stesso con B)
l'unica cosa che devi fare è togliere tensione a tutto l'impianto e cercare la cassetta (portafrutto o di derivazione) da cui provengono i fili che arrivano alle due applique
ad ogni applique devono arrivare due fili (di cui si spera che uno sia azzurro) oltre l'eventuale filo giallo/verde di terra
a questo punto, devi solo trovare il filo (ci sarà una giunzione da qualche parte) che collega le lampade agli interruttori esistenti
questo filo dovrà collegare il singolo interruttore alla lampada che esso deve comandare, quindi mal che vada, ti rimane solo da far passare un secondo filo, da uno dei due interruttori ad una delle due lampade
se mi dici esattamente [o se non ti viene difficile fai una foto] quanti morsetti (conta le viti) hanno i due "interruttori", posso abbozzare un disegnino dell'attuale e delle modifiche da fare
Ognuno sta solo sul cuor della terra
trafitto da un raggio di sole:
ed è subito sera
Salvatore Quasimodo
trafitto da un raggio di sole:
ed è subito sera
Salvatore Quasimodo
0
voti
Comunque quando e se farai queste modifiche prima di eseguire togli subito la corrente di casa.
Sicurezza prima di tutto
Sicurezza prima di tutto
Il futuro appartiene a coloro che credono nella bellezza dei propri sogni.
Formule LaTeX
Uso di LaTeX sul forum
⋮ƎlectroYou
Formule LaTeX
Uso di LaTeX sul forum
⋮ƎlectroYou
0
voti
Grazie mille Attilio siccome ancora non ci abito avrò modo di fare le foto sabato mattina così a memoria ti direi sicuramente cose inesatte so per certo che tra i fili che uscivano dalla parete per collegare le lampade uno è blu una è la massa terra e l'altro non ricordo meglio che aspetti che posto le foto così sarà più chiaro comunque grazie mi hai già tolto un pensiero dicendomi che è fattibile fare tutto con quello che ho un filo in più da mettere non è un problema una volta che saprò come collegare il tutto ovviamente come consigliato da wall87 con il generale a zero! 
-

doppiomalto
0 3 - Messaggi: 8
- Iscritto il: 15 nov 2015, 0:15
0
voti
La cosa più importante da capire è questa: se entrambi gli interruttori hanno solo 2 morsetti per ognuno, o 3?
Ti Spiego la differenza: Con quello a 2 morsetti,puoi comandare o solo una lampada o entrambe. E l'altro ti servirà solo per separare l'accensione,quindi con l'interruttore A puoi accendere un punto luce. Con quello B l'altro punto luce. In questo caso,non puoi comandare un'interruttore con un altro. Cioè L'interruttore A non può azionare l'interruttore B,funzionerebbe male l'accensione.
Se invece vuoi comandare entrambe le lampade da 2 posti diversi, (in questo caso puoi solo comandarle entrambe),ti serviranno 2 deviatori (in questo caso hanno 3 morsetti per ognuno)
Un filo viene dalla prima scatola più vicina, e va collegato nel morsetto L del primo o del secondo deviatore non ha importanza,il filo che va alla lampadina si va collegare nel morsetto L del rimanente deviatore O nel primo o nel secondo non cambia nulla,l'importante è rispettare questo morsetto L. gli altri 2 morsetti di ogni deviatore,vanno collegati 2 fili separatamente,uno per ogni morsetto,che "comunicano" tra un deviatore e l'altro!
Se invece vuoi comandarle da 2 posti diversi, e separatamente ti servono 2 pulsanti, e un relè commutatore.
In quel caso cambia totalmente il tipo dei collegamenti.
Ti Spiego la differenza: Con quello a 2 morsetti,puoi comandare o solo una lampada o entrambe. E l'altro ti servirà solo per separare l'accensione,quindi con l'interruttore A puoi accendere un punto luce. Con quello B l'altro punto luce. In questo caso,non puoi comandare un'interruttore con un altro. Cioè L'interruttore A non può azionare l'interruttore B,funzionerebbe male l'accensione.
Se invece vuoi comandare entrambe le lampade da 2 posti diversi, (in questo caso puoi solo comandarle entrambe),ti serviranno 2 deviatori (in questo caso hanno 3 morsetti per ognuno)
Un filo viene dalla prima scatola più vicina, e va collegato nel morsetto L del primo o del secondo deviatore non ha importanza,il filo che va alla lampadina si va collegare nel morsetto L del rimanente deviatore O nel primo o nel secondo non cambia nulla,l'importante è rispettare questo morsetto L. gli altri 2 morsetti di ogni deviatore,vanno collegati 2 fili separatamente,uno per ogni morsetto,che "comunicano" tra un deviatore e l'altro!
Se invece vuoi comandarle da 2 posti diversi, e separatamente ti servono 2 pulsanti, e un relè commutatore.
In quel caso cambia totalmente il tipo dei collegamenti.
-

elettrico85
0 1 - Messaggi: 3
- Iscritto il: 18 nov 2015, 2:33
0
voti
Eccomi sono riuscito a fare qualche foto purtroppo era già sera spero si capisca lo stesso nella scatola A l'interruttore che comanda la luce AB è quello di SX quello di DX comanda una luce in anticamera
-

doppiomalto
0 3 - Messaggi: 8
- Iscritto il: 15 nov 2015, 0:15
0
voti
A vedere così sembra proprio una deviata, allora segui il consiglio di
attilio, rintraccia la derivazione e dividi le due accensioni
MCSA Windows Server 2012 R2
Cisco CCNA R&S - Cisco CCNA Security - Cisco CCNA Cyber Ops
CompTia A+ - CompTia Linux+ - CompTIA Systems Support Specialist CSSS
CompTia Pentest+ LPIC-1 - VCP VMware - Cisco CCNP Enterprise
Cisco CCNA R&S - Cisco CCNA Security - Cisco CCNA Cyber Ops
CompTia A+ - CompTia Linux+ - CompTIA Systems Support Specialist CSSS
CompTia Pentest+ LPIC-1 - VCP VMware - Cisco CCNP Enterprise
15 messaggi
• Pagina 1 di 2 • 1, 2
Torna a Impianti, sicurezza e quadristica
Chi c’è in linea
Visitano il forum: Nessuno e 53 ospiti

Elettrotecnica e non solo (admin)
Un gatto tra gli elettroni (IsidoroKZ)
Esperienza e simulazioni (g.schgor)
Moleskine di un idraulico (RenzoDF)
Il Blog di ElectroYou (webmaster)
Idee microcontrollate (TardoFreak)
PICcoli grandi PICMicro (Paolino)
Il blog elettrico di carloc (carloc)
DirtEYblooog (dirtydeeds)
Di tutto... un po' (jordan20)
AK47 (lillo)
Esperienze elettroniche (marco438)
Telecomunicazioni musicali (clavicordo)
Automazione ed Elettronica (gustavo)
Direttive per la sicurezza (ErnestoCappelletti)
EYnfo dall'Alaska (mir)
Apriamo il quadro! (attilio)
H7-25 (asdf)
Passione Elettrica (massimob)
Elettroni a spasso (guidob)
Bloguerra (guerra)




